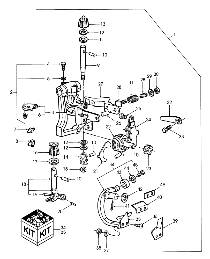
Запчасти Case IH SBX550 (026) - TWINE KNOTTER FRAME (68) - TYING/WRAPPING

Схема запчастей Case IH SBX550 - (026) - TWINE KNOTTER FRAME (68) - TYING/WRAPPING
34
4
10
40
20
3
27
10
35
2
6
41
10
33
35
22
5
34
16
9
24
38
21
37
30
31
32
7
19
15
26
12
46
8
1
23
28
14
44
17
28
36
12
29
18
43
13
45
11
42
12
39
10
25
FIT
1:1
100%

Артикул

Название

Примечание

Количество

1

86900288

FRAME

Knotter, Includes: Ref. 2 - 38 & 40 - 45

2шт.

2

86641587

FRAME

Knotter, Includes: Ref. 3 - 6, 26 & 46

2шт.

3

781216

KIT

Bill Hook Cam

2шт.

4

767388

HEX SOC SCREW,#6 - 32 x 1/2"

4шт.

5

492-11038

LOCK WASHER,3/8"

4шт.

6

219-87

LUBE NIPPLE,1/4" - 28 NPTF

10шт.

7

219-93

LUBE NIPPLE,90 Degree Elbow, 1/4" - 28 NPTF

4шт.

8

51200024

SPACER

Shaft, Knotter Worm

2шт.

9

86629480

SHAFT

Pinion

6шт.

10

435-1614

GROOVED PIN,3/16" x 7/8", Type A

Standard

6шт.

10

9843711

GROOVED PIN,4.76mm OD x 22.23mm L

Double Shear, Optional

6шт.

11

11158

WASHER,0.59" ID x 1.09" OD x 0.04" Thk

1шт.

12

773427

WASHER,0.65" ID x 1.09" OD x 0.02" Thk

.020"

1шт.

13

86641709

DRIVE PINION

Knotter Worm

2шт.

14

86629482

WORM SCREW

Knotter

2шт.

15

425-116

NUT,3/8" - 24, Gr 5

2шт.

16

86578202

PINION

Knotter

2шт.

17

773427

WASHER,0.65" ID x 1.09" OD x 0.02" Thk

1шт.

18

796734

BILL HOOK

Standard

2шт.

Hardened Steel Roller to use with knotter frames with a bolt on ramp for the roller - Kit 781216, Includes: Ref. 9 & Groove Pin

1шт.

18

854819

BILL HOOK

Optional, Large Diameter Sisel Twine

2шт.

Steel Roller, Includes: Ref. 9 & Groove Pin

1шт.

19

796738

TONGUE

2шт.

20

784746

GROOVED PIN

3/16" x 1/2"

2шт.

21

39224

CLEANER

Knotter

4шт.

22

267363

DISC

Twine

2шт.

23

86629481

DRIVE PINION

Twine Disc

2шт.

24

86640939

SUPPORT

Twine Holder

2шт.

25

9820351

SCREW,BTN HD, 5/16" - 18 x 0.88"

HS, Button Hd, Special, 5/16"-18 x 7/8"

2шт.

26

11106

PIN,8.73mm OD x 25.4mm L

11/32" x 1", Knotter Hook Cam

2шт.

27

86836511

KNOTTER HOOK

2шт.

28

39170

BOLT,Sq Hd, 5/16" - 18 x 2 5/8", Gr 2

Sq Hd, G2, 5/16"-18 x 2-5/8"

2шт.

29

495-11034

WASHER,5/16", SAE

2шт.

30

87463

NUT

5/16"-18

2шт.

31

11104

SPRING

2шт.

32

11109

SPRING

Tension

4шт.

33

413-616

BOLT,Hex, 3/8" - 16 x 1", Gr 5

4шт.

34

86625663

KIT

Knife Arm, Includes: Ref. 35 - 38 & 40 - 46

2шт.

35

9602910

KNIFE

Includes: Ref. 36 (2), 37 (2), & 38 (2)

1шт.

36

88595

HEX SOC SCREW,BTN HD, #8 - 32 x 5/8"

2шт.

37

492-11008

LOCK WASHER,#8

2шт.

38

225-14108

NUT,#8-32

2шт.

39

11839

KNIFE

Optional

2шт.

40

612244

GUIDE

2шт.

41

32-814

COTTER PIN,1/8" x 7/8"

2шт.

42

187426

SHIM,.015" Thk

1шт.

42

195903

SHIM,.025" Thk

1шт.

43

146

ROLLER,25.4mm OD x 12.7mm L

Knife Arm

2шт.

44

86528903

WASHER,6.76mm ID x 17.48mm OD x 1.52mm Thk

2шт.

45

426-412

BOLT,Hex, 1/4" - 20 x 3/4", Gr 8

2шт.

46

9602909

SHIM,.120mm Thk

2шт.

Выбрано товаров: 51