Качественные детали и логистика
Оригинальные и аналоговые запчасти с доставкой по России, Казахстану и Беларуси
©2022 PartSell ООО "Система" ИНН 2463123282 ОГРН 1212400004838
Центральный офис: г. Красноярск, Академика Киренского, д.87, пом.4
Телефон: 8 (800) 777-65-74 Email: zakaz@partsell.ru
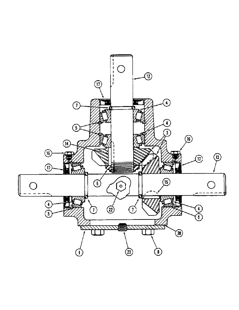
(44) - GEARBOX
№
Артикул
Название
Примечание
Количество
1976290C1
GEARBOX ASSY
GEARBOX ASSEMBLY - snow thrower
1шт.
1
1973042C1
COVER
- gearbox
3
1973043C1
GEAR
- bevel
2шт.
4
1973044C1
BEARING ASSY
BEARING - gearbox
4шт.
5
1973045C1
RING
- retaining
6
1973046C1
NUT
7
1958290C1
RING, SNAP
RING - retaining
3шт.
8
413-58
BOLT,Hex, 5/16" - 18 x 1/2", Gr 5
- hex, 5/16 NC x 1/2 inch
12
1973047C1
SHAFT
- input
13
1973048C1
- output
14
1973049C1
BUCKET TOOTH KEY
KEY - square
15
218211
DRIVING SPROCKET
- Woodruff, 1/4 x 3/4 inch
16
444688
PLUG
- hex socket pipe, 1/8 inch PT
17
1973050C1
SEAL
- oil
20
1973051C1
GASKET
- cover
21
1973052C1
SHIM
- bearing
22
1973053C1
- vent
23
1973054C1
Выбрано товаров: 0