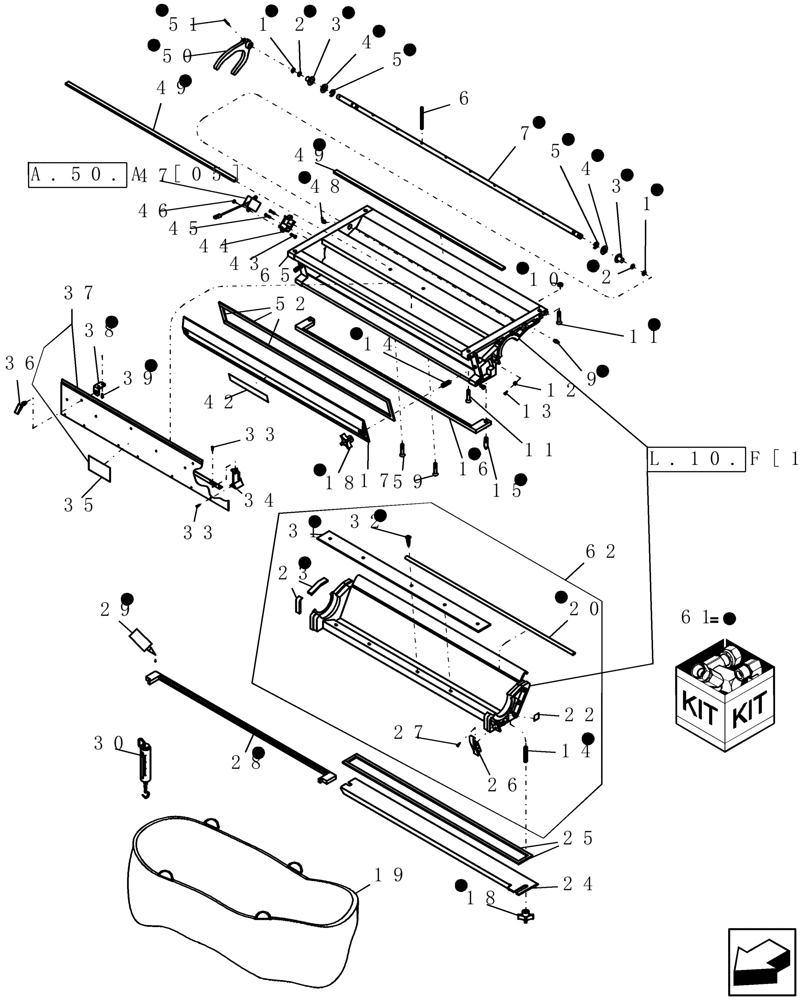
Запчасти Case IH ADX3360 (L.10.F[16]) - METER BOX ASSEMBLY L - Field Processing

Схема запчастей Case IH ADX3360 - (L.10.F[16]) - METER BOX ASSEMBLY L - Field Processing
47
15
13
50
12
1
48
52
36
59
33
37
42
31
61
30
11
2
18
27
11
49
20
7
6
4
9
24
44
5
28
19
43
14
39
29
45
3
23
51
2
5
26
4
10
38
49
18
35
17
14
22
46
3
32
62
34
65
25
16
33
1
FIT
1:1
100%

Артикул

Название

Примечание

Количество

0

GL-400A

BOX

meter 28"

1шт.

1

49861

O-RING,0.103" Thk x 0.362" ID, -110, Cl 5, 75 Duro

2шт.

2

9680

O-RING,0.375" ID x 0.5" OD x 0.063"

3/8" id x 1/2" od x 1/16" thick

2шт.

3

GH-313

BUSHING,12.7mm ID x 15.9mm OD x 12.7mm L

flanged

2шт.

4

8289

WASHER

1/2" id 13/16" od 3/32"

2шт.

5

6882

SNAP RING

external .392" ID for .5" shaft

2шт.

6

7189

ROLL PIN

3/16" x 3"

8шт.

7

GL-413

AGITATOR

shaft 28" meter box

1шт.

7

GL-413A

SHAFT

agitator 28" meter box

1шт.

Includes roll pins

1шт.

9

87414

LUBE NIPPLE,1/4" - 28

1шт.

10

280736

NUT,5/16"-18, GC

4шт.

11

7056

SCREW,5/16" - 18 x 1 - 3/4"

hex socket 5/16" x 18" x 1 3/4" fh, Serial Range: -Y9S015091

4шт.

11

87758651

HEX SOC SCREW,Flat Hd, CSK, 5/16" - 18 x 2 1/4"

cap 5/16"-18 x 2 1/4", Start Serial: Y9S015091

4шт.

12

8191

LATCH

button keeper

2шт.

13

8285

SELF-TAP SCREW

#8-32 x 3/4" fh d pi

2шт.

14

22893

STUD

3/8"-16 x 2", G5 - stainless steel

2шт.

15

22894

STUD

3/8"-16 x 1 1/2", G5 - stainless steel

2шт.

16

CA-228

SEAL

front half - 2 lip

1шт.

17

9327

COVER

meter box inspection plastic

1шт.

18

6909

KNOB

plastic 4-prong 3/8" thru hole brass insert

2шт.

19

425090A1

PLASTIC-BAG

collector with clasp

1шт.

20

86992832

SEAL

bulb type

27.5шт.

Must be ordered in multiples of 25

1шт.

22

GF-100.03

DECAL

tank drain

1шт.

23

425462A1

FOAM

sponge 1/2" w x 3/8" thick

12шт.

Must be ordered in multiples of 20

1шт.

24

GL-405

PANEL

drain, rear 28" meter box

1шт.

Shown

1шт.

25

425468A1

SEAL

sponge 1/2" wide x 1/4" thick x 66" long

2шт.

Cut 66" from 25' roll marked 86992328

1шт.

25

86992328

SEAL

sponge 1/2" w x 1/4" thick adhesive

2шт.

Must be ordered in multiples of 25

1шт.

26

8190

LATCH

over center

2шт.

27

8258

SELF-TAP SCREW,Phillips Drive, Pan Head, #8 - 32 x 3/8"

#8-32 x 3/8" ph d pi

6шт.

28

CA-229

SEAL

rear half - 2 lip

1шт.

29

L40140DS

ADHESIVE

401 - 20 ml

1шт.

30

412785A1

SCALE

hanging weight

1шт.

31

GL-420

SPACER

pad wear plate

1шт.

Includes 9328

1шт.

31

9328

WEAR PLATE

uhmv, 28" meter box

1шт.

32

9565

SELF-TAP SCREW,0.164"-32 x 1/2"

#8-32 x 1/2" ph d pii ss

5шт.

33

8140

SCREW,Pan Hd, #6 - 32 x 0.375"

mch #6-32 x 3/8" ph

16шт.

34

412782A1

BLADE

divider

8шт.

35

GF-100.05

DECAL

baffle plate

1шт.

36

8192

LATCH

swell

3шт.

37

GL-403A

BAFFLE

panel assembly 28" meter box

1шт.

Includes eight of 8095, 16 of 8140, three of 8192, GF-100.05, and GL-403

1шт.

38

8193

BRACKET

swell latch

3шт.

39

8258

SELF-TAP SCREW,Phillips Drive, Pan Head, #8 - 32 x 3/8"

#8-32 x 3/8" ph d pi

6шт.

42

GF-100.04

DECAL

inspection port

1шт.

43

9809

SCREW,Hex, #10 - 32 x 5/8", SST

mch #10-32 x 5/8" hh ss

2шт.

44

9258

BRACKET

shaft sensor mount RH

1шт.

45

8285

SELF-TAP SCREW

#8-32 x 3/4" fh d pi

2шт.

46

9148

LOCK NUT

#10-32, stainless steel

2шт.

47

13919

SENSOR

shaft

1шт.

Refer to Sensors page for details

1шт.

48

87569

LUBE NIPPLE,45 Degree, 1/4" NPT x 4/5" L, Drive

1шт.

49

425472A1

SEAL

sponge 3/4" wide x 1/2" thick x 163" long

1шт.

Cut 163" from 20' roll marked 86992936

1шт.

49

86992936

SEAL

sponge 3/4" x 1/2" thick order in multiples of 20, Serial Range: -Y9S015091

1шт.

49

84181721

SEAL

3/4" Wide x 1" Thick, Bulk 25' Roll, Start Serial: Y9S015091

1шт.

50

GI-522

CAM

follower, agitator

1шт.

51

118827

PIN,4.76mm OD x 25.4mm L, Slotted

1шт.

52

425468A1

SEAL

sponge 1/2" wide x 1/4" thick x 66" long

2шт.

Cut 66" from 25' roll marked 86992328

1шт.

52

86992328

SEAL

sponge 1/2" w x 1/4" thick adhesive

2шт.

Must be ordered in multiples of 25

1шт.

59

22679

SELF-TAP SCREW

tap #10-32 x 1 3/4", hwh d, Serial Range: -Y9S015091

2шт.

59

87470068

SELF-TAP SCREW,#10 - 32 x 2"

tap #10-32 x 2", Start Serial: Y9S015091

2шт.

61

GI-543K

KIT

meter box rebuild

1шт.

This kit includes all the agitator parts, seals, foam and mounting hardware required to rebuild one meter box

1шт.

Parts marked with dot on artwork

1шт.

62

GL-402AV2

BOTTOM

assembly, 28" meter box

1шт.

65

GL-401AV2

BOX

28" meter assembly, top

1шт.

100

GL-117A

TOOL

assembly, meter box seal installation

1шт.

Not Shown

1шт.

Выбрано товаров: 77