Запчасти Case IH ADX3360 (L.10.F[17]) - TOP AND BOTTOM METER ASSEMBLIES L - Field Processing

Схема запчастей Case IH ADX3360 - (L.10.F[17]) - TOP AND BOTTOM METER ASSEMBLIES L - Field Processing
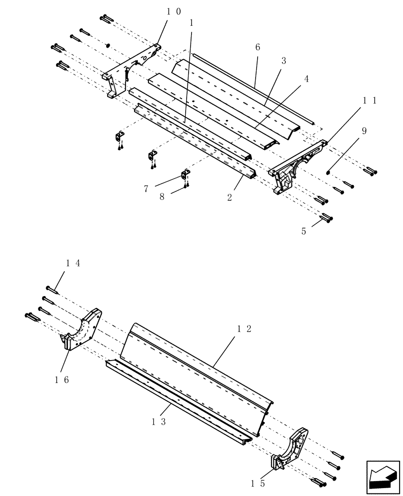
16
9
5
14
11
15
3
6
1
12
8
10
2
4
7
13
FIT
1:1
100%

Артикул

Название

Примечание

Количество

1

GL-408

TOP

28" Meter Panel

1шт.

2

GL-409

BOTTOM

21" Meter Panel

1шт.

3

GL-410

TOP

28" Meter Panel

1шт.

4

GL-411

PANEL

Top Center, 28" Meter

1шт.

5

6881

SELF-TAP SCREW

#14 x 2" hwh ab sq

16шт.

6

GL-414

ROD

meter jaw hinge 28" meter box

1шт.

7

8193

BRACKET

swell latch

3шт.

8

8258

SELF-TAP SCREW,Phillips Drive, Pan Head, #8 - 32 x 3/8"

#8-32 x 3/8" ph d pi

6шт.

9

87361

WASHER,0.28" ID x 0.62" OD x 0.07" Thk

2шт.

10

GL-592

SIDE PANEL

meter box top RH (Casting # 8255)

1шт.

11

GL-590

SIDE PANEL

meter box top lhs (Casting # 8253)

1шт.

12

GL-418

DOOR

Cleanout, 28" Meter Box

1шт.

13

GL-419

PANEL

Bottom Center

1шт.

14

6881

SELF-TAP SCREW

#14 x 2" hwh ab sq

10шт.

15

GL-591

SIDE PANEL

meter box - bottom (Casting # 8254)

1шт.

16

GL-593

SIDE PANEL

meter box - bottom (Casting # 8256)

1шт.

Выбрано товаров: 16