Качественные детали и логистика
Оригинальные и аналоговые запчасти с доставкой по России, Казахстану и Беларуси
©2022 PartSell ООО "Система" ИНН 2463123282 ОГРН 1212400004838
Центральный офис: г. Красноярск, Академика Киренского, д.87, пом.4
Телефон: 8 (800) 777-65-74 Email: zakaz@partsell.ru
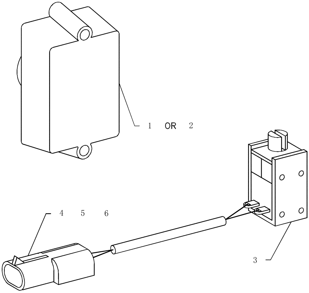
(A.50.A[07]) - CABLE TERMINATOR/CLUTCH SOLENOID
№
Артикул
Название
Примечание
Количество
1
425049A1
MODULE
terminator passive (Black)
1шт.
2
13928V2
TERMINAL
powered (grey) electronic control unit
3
7634
ACTUATOR
clutch
51200032
SOLENOID
assembly, clutch
4
87692877
MULTIPOLE CONNECTOR,Male, 2 Cavities
plastic 2c receptacle
5
225120C1
TERMINAL CONNECTOR,Tin, 0.8mm
18-20awg
2шт.
6
225124C1
SEAL,2 - 2.9 mm2
seal grn 2.8-2 omm
Выбрано товаров: 0