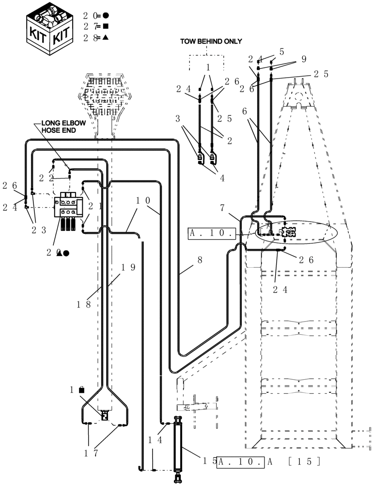
Запчасти Case IH ADX3430 (A.10.A[08]) - HYDRAULICS - AUGER (BEFORE 05/2004) A - Distribution Systems

Схема запчастей Case IH ADX3430 - (A.10.A[08]) - HYDRAULICS - AUGER (BEFORE 05/2004) A - Distribution Systems
24
20
9
2
4
6
8
28
20
3
26
25
23
16
1
15
24
26
26
17
24
18
21
5
7
19
14
27
25
10
26
22
24
FIT
1:1
100%

Артикул

Название

Примечание

Количество

1

9412

QUICK MALE COUPLING

1/2"

2шт.

Tow Between

1шт.

2

21560

HYDRAULIC HOSE,19.05mm ID x 12319mm L, SAE 100R17

3/4" x 485" fl, 1/2" mpt x 3/4" mpt

2шт.

Includes ref 4, 7 and eight 17

1шт.

3

6935

COUPLING, QUICK, FEM

3/4"

2шт.

4

6934

PLUG

dust, pioneer coupler - 3/4"

2шт.

5

6936

QUICK MALE COUPLING,3/4" - 14 NPTF

3/4"

2шт.

Tow Behind

1шт.

5

9412

QUICK MALE COUPLING

1/2"

2шт.

Tow Between

1шт.

6

21561

HYDRAULIC HOSE

3/4" x 252" fl, 3/4" mpt x 3/4" fjic

2шт.

Tow Behind

1шт.

6

21552

HYDRAULIC HOSE

3/4" x 172" fl, 3/4" mpt x 3/4" fjic

2шт.

Tow Between

1шт.

7

21562

HYDRAULIC HOSE

3/4" x 358" fl, 3/4" fjic x 3/4" fjic

1шт.

8

21563

HYDRAULIC HOSE

3/4" x 350" fl, 3/4" fjic x 3/4" fjic

1шт.

9

21668

REDUCER FITTING,1/2" - 14 Male NPT x 3/4" - 14 Female NPT

hydraulic 1/2" mpt x 3/4" fpt

2шт.

Tow Between

1шт.

10

9395

HYDRAULIC HOSE

1/4" x 154" fl, 1/4" fjic x 1/4" fjic

2шт.

14

261768

HYD CONNECTOR,7/16" - 20 JIC x 1/4" - 18 NPT

2шт.

15

9450

HYDRAULIC CYLINDER,Double Acting, 28.57mm Rod, 254mm Stroke

2" x 10" mon 2500 psi with pins

1шт.

Refer to 2" x 10" Hydraulic Cylinder parts page for details

1шт.

16

87506224

HYDRAULIC MOTOR

10" auger

1шт.

87506224R

REMAN-HYD MOTOR

ADX3360 (6/01-5/03), ADX3380 (6/03-7/08), ADX3430 (1/04-7/08), All (BEFORE 05/2004)

1шт.

87506224C

CORE-MOTOR HYDRAULIC

Return Number

1шт.

17

128819

HYD CONNECTOR,7/8" - 14 ORB x 3/4" - 16 JIC

2шт.

18

9398

HYDRAULIC HOSE

1/2" x 196" fl, 1/2" fjic x 1/2" fjic

1шт.

19

9394

HYDRAULIC HOSE,0.50" ID x 196.00", SAE J517

1/2" fjic x 1/2" fjic

1шт.

20

87506263

HYDRAULIC VALVE

3 Spool

1шт.

Includes three 7945, three 8632, and nine 8773

1шт.

21

87010110

HYD CONNECTOR

7/16"-20, 37º x 3/4"-16, O-Ring

2шт.

22

128818

UNION,3/4" - 16 ORB x 3/4" - 16 JIC

2шт.

23

144123

90 ELBOW,90 Degree, 1 1/16"-12, 37 Degree x 7/8"-14, O-Ring

2шт.

24

GL-700.34

DECAL

auger pressure

1шт.

25

GL-700.35

DECAL

auger return

1шт.

26

GL-373

COVER

hydraulic hose label - 1 1/2"

1шт.

27

87364589

SEAL KIT

Danfoss

1шт.

28

22741

SEAL KIT

Danfoss 3 spool

1шт.

28

87507899

KIT

Spring And Poppet

1шт.

Выбрано товаров: 39