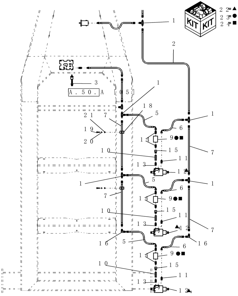
Запчасти Case IH ADX3430 (A.10.A[13]) - HYDRAULICS - MAIN FRAME - VARIABLE DRIVE (FROM 06/2004 TO 07/2006) A - Distribution Systems

Схема запчастей Case IH ADX3430 - (A.10.A[13]) - HYDRAULICS - MAIN FRAME - VARIABLE DRIVE (FROM 06/2004 TO 07/2006) A - Distribution Systems
9
6
15
3
7
1
7
18
1
13
10
24
9
14
15
13
5
12
10
10
6
1
16
22
2
9
7
7
21
23
5
19
1
5
12
11
20
11
14
6
14
1
13
15
12
16
11
FIT
1:1
100%

Артикул

Название

Примечание

Количество

1

128996

TEE,3/4" - 16 JIC x 3/4" - 16 JIC x 3/4" - 16 JIC

5шт.

2

22519

LINE

hydraulic 1/2" od x 30 1/2" ~ 1/2" fjic x 1/2" fjic

1шт.

3

51200013

SENSOR

hydraulic pressure

1шт.

5

87446695

HYDRAULIC HOSE

3/8" x 23" fl, 1/2" fjic x 3/8" fjic

3шт.

6

87446398

HYDRAULIC HOSE,0.38" ID x 20.00", SAE J517, SAE J516, SAE J343

1/2" fjic x 3/8" fjic

3шт.

7

22517

LINE

hydraulic 1/2" od x 31" ~ 1/2" fjic x 1/2" fjic

4шт.

9

22446

HYDRAULIC OIL FILTER

complete assembly

3шт.

Includes 22156 and 23748

1шт.

10

22447

VALVE

1 1/4" gpm p. comp deltrol pressure compensated

3шт.

11

76350

HYD CONNECTOR,9/16" - 18 ORB x 9/16" - 18 JIC

3шт.

12

GM-363

HYDRAULIC MOTOR

torque generator 2 3/16" 3/rev

3шт.

13

22448

FITTING

hydraulic - straight adapter 3/8" morb x 3/8" morb

3шт.

14

128817

HYD CONNECTOR,3/4" - 16 ORB x 9/16" - 18 JIC

3шт.

15

22449

FITTING

hydraulic swivel adapter 3/8" mb 3/8" fjx

3шт.

16

216791

ELBOW,90 Degree, 3/4"-16, 37 Degree x 3/4"-16, 37 Degree

2шт.

18

84307616

CLAMP

plastic, hydraulic tube

2шт.

19

88436

BOLT,Hex, 3/8" - 16 x 2", Gr 5

2шт.

20

80664

WASHER,0.38" ID x 0.88" OD x 0.08" Thk

2шт.

21

88902

NUT,3/8"-16

2шт.

22

22396

SEAL KIT

torque generator

1шт.

23

22156

HYDRAULIC OIL FILTER

and seal kit

1шт.

24

51200102

O-RING,1.112" ID x 1.318" OD x 0.103"

1 7/64" id x 1 5/16" od x 3/32" nitrile

1шт.

Выбрано товаров: 22