Запчасти Case IH ADX3430 (A.50.A[16]) - POWER ADAPTOR CABLE A - Distribution Systems

Схема запчастей Case IH ADX3430 - (A.50.A[16]) - POWER ADAPTOR CABLE A - Distribution Systems
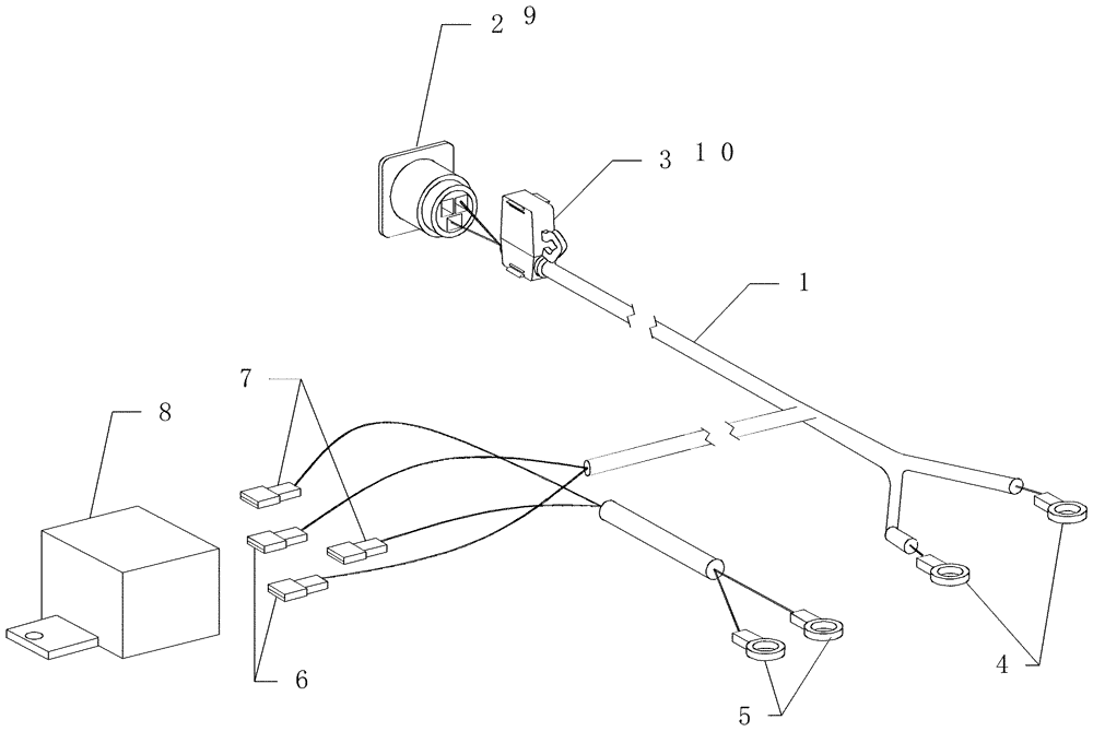
2
3
9
5
8
10
6
1
4
7
FIT
1:1
100%

Артикул

Название

Примечание

Количество

1

14294

HARNESS

power adapter

1шт.

2

225164C1

ELEC CONNECTOR

plastic 3c receptacle

1шт.

3

425057A1

ELEC CONNECTOR,4 Pin

plastic 4c plug

1шт.

4

412732A1

ELEC. TERMINAL PIN,3 - 6 mm2

terminal ring 10-12awg 5/16" yellow

2шт.

5

425054A1

TERMINAL CONNECTOR,22 - 16 SAE

terminal ring 22-16awg 1/4 pvc

2шт.

6

225185C1

TERMINAL CONNECTOR

disc 12-10awg

2шт.

7

425044A1

TERMINAL CONNECTOR,22 - 18 SAE

terminal disc 22-18awg 1/4" f

2шт.

8

1983420C2

RELAY

12v 85 ohm c/w bracket

1шт.

9

223-95

TERMINAL CONNECTOR,Female, 14 - 16

contact pin 8-10awg

2шт.

10

13972

FUSE HOLDER

inline ato 12awg

1шт.

Выбрано товаров: 10