Запчасти Case IH 8100 (9B-34) - WING REST (09) - CHASSIS/ATTACHMENTS

Схема запчастей Case IH 8100 - (9B-34) - WING REST (09) - CHASSIS/ATTACHMENTS
15
4
13
5
17
15
11
3
12
13
1
16
2
16
14
FIT
1:1
100%

Артикул

Название

Примечание

Количество

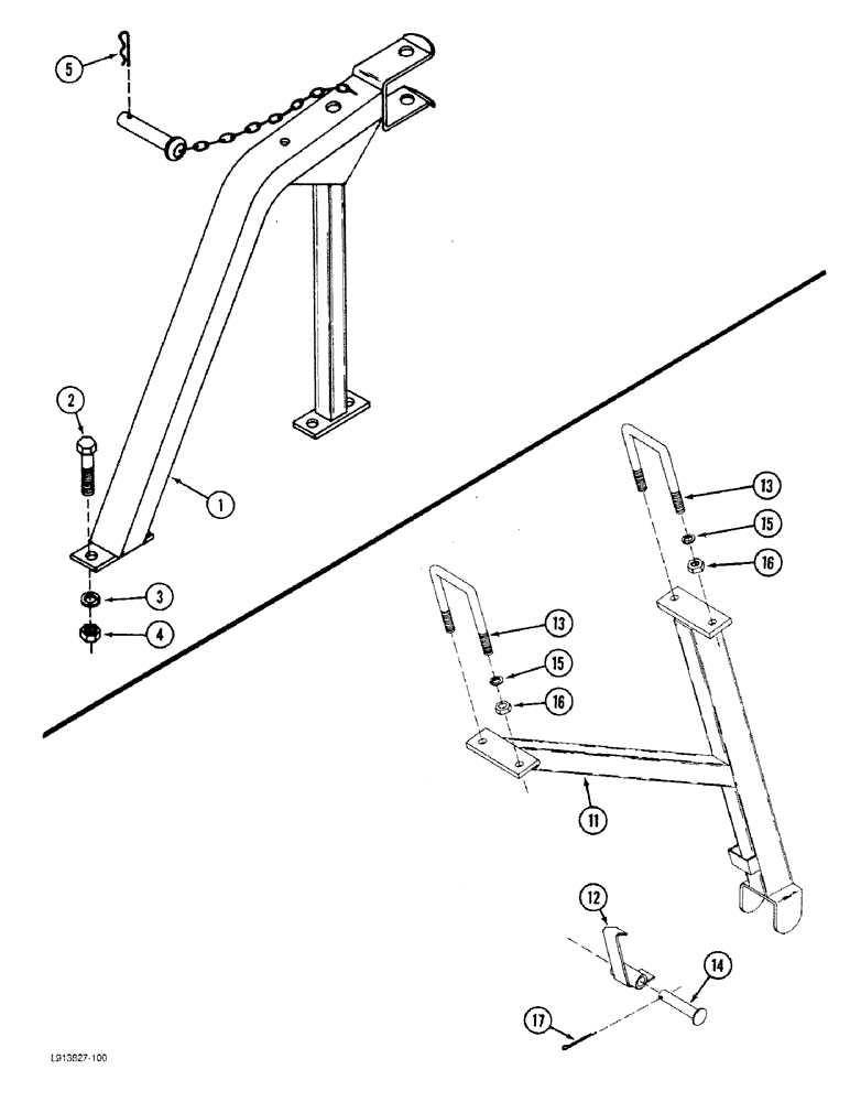
1

1543856C1

SUPPORT

- wing rest

2шт.

2

413-1028

BOLT,Hex, 5/8" - 11 x 1-3/4", Gr 5

- hex, 5/8 NC x 1-3/4 inch

8шт.

3

492-11062

BEARING WASHER,5/8"

WASHER, LOCK, 5/8"

8шт.

4

425-1010

NUT,5/8"-11, G5

8шт.

5

407210R1

CLIP

PIN - cotter

2шт.

11

1543780C1

SUPPORT

- wing rest (55 - 59 Foot) OUTER AND GRAVITY LOCK 43 - 47 AND 49 - FOOT

1шт.

11

1543852C1

SUPPORT

- wing rest (43 - 53 Foot) OUTER AND GRAVITY LOCK - 47 AND 49 - 59 FOOT

1шт.

12

1543791C1

LOCK

- gravity OUTER WING REST AND 43 - 47 AND 49 - 59 FOOT

1шт.

13

608294R1

U-BOLT,U, 5/8" - 11 x 134mm

- 5/8 inch NC, plated OUTER WING REST AND GRAVITY LOCK 43 - 47 AND 49 - 59 FOOT

2шт.

14

439-51248

HEADED PIN,3/4" x 3", G5

PIN - 3/4 x 2-5/8 inch OUTER WING REST AND GRAVITY LOCK 43 - 47 AND 49 - 59 FOOT

1шт.

15

492-11062

BEARING WASHER,5/8"

WASHER, LOCK, , Outer wing rest and gravity lock 43 - 47 and 49 - 59 foot 5/8"

4шт.

16

425-1010

NUT,5/8"-11, G5

Outer wing rest and gravity lock 43 - 47 and 49 - 59 foot 5/8"-11, G5

4шт.

17

32-1620

COTTER PIN,1/4" x 1 1/4"

PIN, SPLIT (COTTER), , Outer wing rest and gravity lock 43 - 47 and 49 - 59 foot 1/4" x 1 1/4"

1шт.

Выбрано товаров: 0