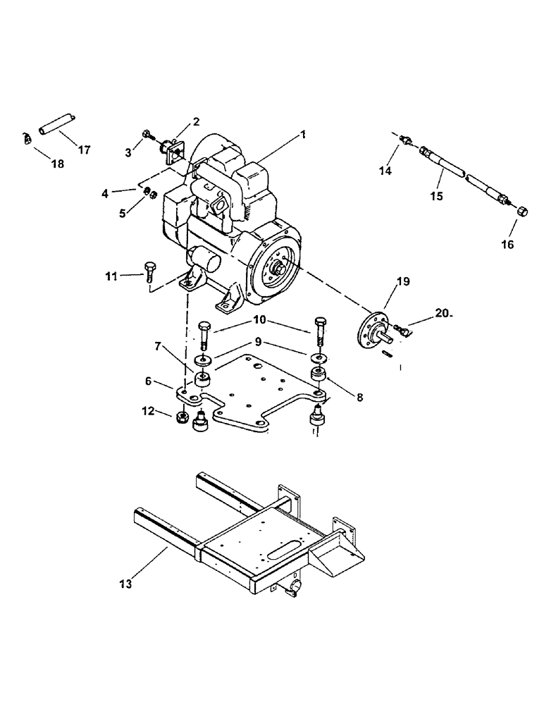
Запчасти Case IH 1100 (E38) - ENGINE MOUNTING

Схема запчастей Case IH 1100 - (E38) - ENGINE MOUNTING
17
7
10
16
1
18
6
15
8
11
3
19
13
4
20
2
9
14
12
5
FIT
1:1
100%

Артикул

Название

Примечание

Количество

1

1033042

SKELETON ENGINE

ENGINE - 9LD-625-2

1шт.

2

1033337

FLANGE ASSY

WLDMT - flange

1шт.

3

1014786

BOLT

BOLT - hex: .31 x 1.25 NC GR5 ZP

2шт.

4

1014125

LOCK WASHER

WASHER - lock: .31 ZP

3шт.

5

1011575

NUT,5/16"-18, G5

- hex: .31 NC GR2 ZP

3шт.

6

1014736

LARGE PLATE

PLATE - engine mount

1шт.

7

1014738

ISOLATOR

- 90#

2шт.

8

1014739

ISOLATOR

- 150#

2шт.

9

1014741

WASHER

- snubbing

4шт.

10

1016726

BOLT

- hex: .63 x 4.00 NC GR5 ZP

4шт.

11

1017526

BOLT

- hex: .63 x 2.25 NC GR5 ZP

4шт.

12

231-14410

NUT,5/8"-11, GB

NUT, LOCK, 5/8"-11, GB

8шт.

13

1025465

MOUNTING PARTS

WLDMT - motor mount

1шт.

14

CAS1018143

FITTING

FTG - adapter: AQ#15.063-8-6

1шт.

15

1017737

HOSE ASSY.

HOSE .38 x 012-6JICM/-6JICFSW

1шт.

16

1017738

FITTING

FTG - cap TMK#304-C-6

1шт.

17

1014929

HOSE,0.38" ID x 8.50"

- Crankcase breather 0.38" ID x 8.50"

1шт.

18

1012406

CLAMP

- hose: S.S.#04 .22-.63

1шт.

19

1012363

SHAFT

STUBSHAFT - drive

1шт.

20

1012384

BOLT

- metric: M10 x 30 MM G10.9 P

8шт.

21

892-11010

LOCK WASHER,M10

(Discontinued) M10

8шт.

Выбрано товаров: 21