Запчасти Case IH 1100 (E54) - ELECTRIC SYSTEM, DIESEL, DISCONTINUED

Схема запчастей Case IH 1100 - (E54) - ELECTRIC SYSTEM, DIESEL, DISCONTINUED
12
10
2
9
3
23
4
13
19
22
8
4
7
18
24
16
5
9
31
8
25
20
17
21
7
1
28
29
10
30
15
6
14
FIT
1:1
100%

Артикул

Название

Примечание

Количество

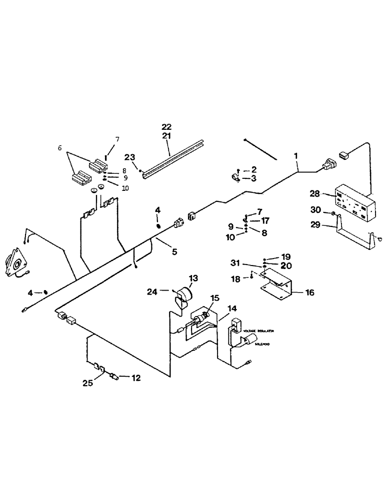
1

1024929

HARNESS

WIRING HARNESS, tractor

1шт.

2

1016352

CLAMP

harness

6шт.

3

100862

GASKET

SCREW

6шт.

4

1014125

LOCK WASHER

LOCK WASHER, 5/16"

4шт.

5

1032061

HARNESS

WIRING HARNESS

1шт.

6

1027706

SENSOR

BIN LEVEL SENSOR, 2.688" x 3.375"

2шт.

If sensor is 1-3/16" x 4-1/8", it's part number 1016121

1шт.

7

1014728

SCREW

8шт.

8

1016237

WASHER

FLAT WASHER, #1 0

8шт.

9

1013389

THRUST WASHER

LOCK WASHER, #1 0

8шт.

10

1011588

NUT,#10-24

hex, #10

8шт.

11

1021293

HARNESS

WIRING HARNESS, tach and engine

1шт.

12

1016300

SENSOR

MAGNETIC PICKUP

1шт.

13

1016068

METER

TACHOMETER

1шт.

14

1016281

HARNESS

WIRING HARNESS, ignition, oil pressure & filternator

1шт.

15

1016194

IGNITION SWITCH

START AND IGNITION SWITCH

1шт.

16

1027379

PANEL

INSTRUMENT PANEL

1шт.

17

1016234

CLAMP

harness

3шт.

18

1011598

BOLT

hex, 5/16" x 1"

4шт.

19

1011575

NUT,5/16"-18, G5

hex, 5/16"

4шт.

20

1016235

GROMMET

2шт.

21

1022820

PROTECTOR

CHANNEL, wire protector

1шт.

23

280136

NUT,3/8"-16, G8

LOCKNUT, hex, 5/1"

4шт.

24

1016466

ELECTRICAL WIRE

WIRE, tachometer ground

1шт.

25

1016492

LOCK NUT

JAM NUT, 3/4'NF

1шт.

28

1024891

CONTROL

MONITOR BOX

1шт.

If the customer has a 1024891 M100 Monitor Box they will need a 1025705 remote switch if they have a 290190A1 M200 Monitor Box they will need a 233788A1 Remote Switch.

1шт.

29

1024940

BRACKET

MONITOR BOX BRACKET

1шт.

30

1024941

KNOB

2шт.

31

1011582

WASHER

FLAT WASHER, 5/16"

4шт.

Выбрано товаров: 30