Запчасти Case IH 1100 (E56) - AUGER ASSEMBLY (7.0 X 18), DISCONTINUED

Схема запчастей Case IH 1100 - (E56) - AUGER ASSEMBLY (7.0 X 18), DISCONTINUED
28
2
26
22
1
12
22
17
5
16
25
19
9
18
14
23
7
22
24
4
15
8
30
29
24
3
6
20
13
4
7
21
11
27
FIT
1:1
100%

Артикул

Название

Примечание

Количество

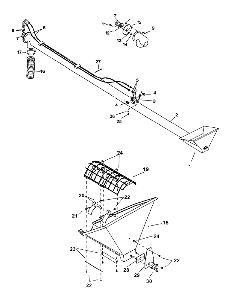
1

1030325

HOPPER

AUGER HOPPER/A

1шт.

2

1021500

AUGER

: 7.0 x 18'

1шт.

3

1021498

VALVE

- manual: control 4 way

1шт.

ROTARY AUGER CONTROL VALVE PART NUMBER 312569A1, ALLOWS GENTLE HANDLING OF FRAGILE SEEDS.

1шт.

KIT IS PART NUMBER 1026684.

1шт.

4

1024328

FITTING

FTG - elbow TMK#2501-L-12-12 (Order 218-486)

1шт.

4

1024426

FITTING

FTG - elbow TMK#2501-12-12 (Order 218-927)

1шт.

5

1021531

FITTING

FTG - elbow TMK#1501-8-8

2шт.

6

1026595

HOSE ASSY.

HOSE - .50x156-10JICFSW90L/8NPTM

2шт.

7

1032092

MOTOR, HYDRAULIC

MOTOR - Hyd: Char-Lynn 104-1073

1шт.

7

1023836

SEAL KIT

- kit: Charlynn 61252

1шт.

7

1023837

SEAL KIT

- kit: Charlynn 61258

1шт.

8

1026594

ADAPTER

FTG - adapter: TMK#6400-10 strait (Order 218-5062)

2шт.

9

1011600

BOLT,Hex, 3/8" - 16 x 1", Gr 5

BOLT - hex: .38 x 1.00 NC GR5 ZP (Order 413-616)

8шт.

10

232-1446

NUT,3/8"-16, GC

NUT - nylock: .38 NC GR6 ZP

8шт.

11

1011607

BOLT

BOLT - hex: .50 x 1.50 NC GR5 ZP (Order 413-816)

2шт.

12

1021532

PIN

- spiralok: .38 x 2.00 NP

1шт.

13

1011581

LOCK WASHER

- lock: .50 (Order 492-11050)

1шт.

14

231-1448

NUT,1/2"-13, GB

- nylock: .50 NC GR6 ZP

2шт.

15

1023240

PLATE

- end: Hyd motor mount 7.0

1шт.

16

1021542

HOSE,56.00"

Flex: Spout 7.0 Auger (Use 1021593 Bulk) 56.00"

1шт.

17

1021824

CLAMP

- hose: #116 6.81-7.75 (Order 214-14116)

1шт.

18

1030306

HOPPER

- modified

1шт.

19

1030314

GUARD

FLIGHTING GUARD/W

1шт.

20

1030324

STRAP

- friction

4шт.

21

1011602

BOLT

BOLT - hex: .38 x 1.50 NC GR5 ZP

4шт.

22

232-1446

NUT,3/8"-16, GC

NUT - nylock: .38 NC GR6 ZP (Order 232-1446)

9шт.

23

1030313

STRAP

STRIP - strap

2шт.

24

1011601

BOLT

BOLT - hex: .38 x 1.25 NC GR5 ZP (Order 413-620)

5шт.

25

1021800

BOLT

BOLT - hex: .38 x .50 NC GR5 ZP (Order 413-616)

4шт.

26

1011586

LOCK WASHER

- lock: .38 (Order 492-11038)

3шт.

27

1021284

CABLE TIE

TIE - 8.00

3шт.

28

1030308

SUPPORT

BAR - bearing support

1шт.

29

1030312

SUPPORT

BAR - support

1шт.

30

1030961

FLANGED BEARING,25.63mm ID

BEARING FLANGE/A

1шт.

31

1013418

COLLAR

- set: 1.00

1шт.

Выбрано товаров: 36