Запчасти Case IH 1802 (67) - DRAWPOLE MOUNT - PRIMARY MANIFOLD GROUP

Схема запчастей Case IH 1802 - (67) - DRAWPOLE MOUNT - PRIMARY MANIFOLD GROUP
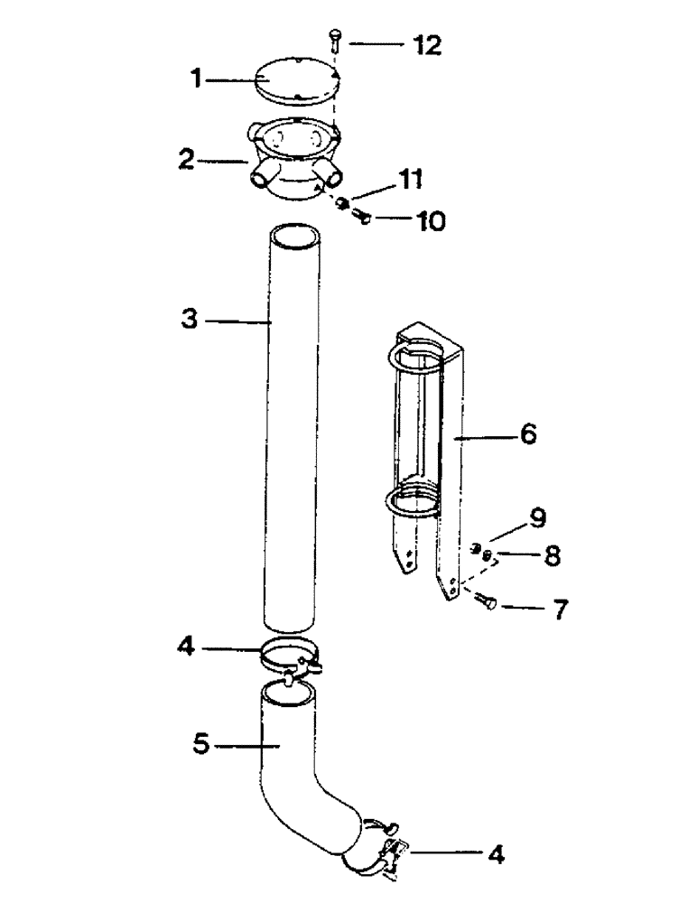
5
8
3
11
2
12
7
4
4
6
9
10
1
FIT
1:1
100%

Артикул

Название

Примечание

Количество

1

1013039

COVER

manifold, 2, 3, 4, 6 port

1шт.

1013190

COVER

manifold, 5 port

1шт.

1015860

COVER

manifold, 12 and 24 ports

1шт.

1015861

COVER

manifold, 20 port

1шт.

1015862

COVER

manifold, 21 port

1шт.

2

1013166

TUBE ASSY.

MANIFOLD, 2 port

1шт.

1013167

TUBE ASSY.

MANIFOLD, 3 port

1шт.

1012428

COVER

MANIFOLD, 4 port

1шт.

1013168

COVER

MANIFOLD, 5 port

1шт.

1013169

COVER

MANIFOLD, 6 port

1шт.

1015877

MANIFOLD, 8 port

1шт.

1015880

TUBE ASSY.

MANIFOLD, 12 port

1шт.

1015322

TUBE ASSY.

MANIFOLD, 20 port

1шт.

1015879

TUBE ASSY.

MANIFOLD, 21 port

1шт.

1015323

TUBE ASSY.

MANIFOLD, 24 port

1шт.

3

TUBE

1шт.

4

1013259

CLAMP

ASSEMBLY

2шт.

5

1015716

HOSE,5.00" ID x 18.00"

5.00" ID x 18.00"

1шт.

6

1015476

MOUNTING PARTS

MOUNT, manifold

1шт.

7

BOLT, hex

4шт.

8

LOCKWASHER

4шт.

9

NUT, hex

4шт.

10

1013208

SET SCREW

1/4" x 1"

2шт.

11

1013518

LOCK NUT

NUT, jam, 1/4"

2шт.

12

1011598

BOLT

hex, 5/16" x 1"

4шт.

Выбрано товаров: 25