Качественные детали и логистика
Оригинальные и аналоговые запчасти с доставкой по России, Казахстану и Беларуси
©2022 PartSell ООО "Система" ИНН 2463123282 ОГРН 1212400004838
Центральный офис: г. Красноярск, Академика Киренского, д.87, пом.4
Телефон: 8 (800) 777-65-74 Email: zakaz@partsell.ru
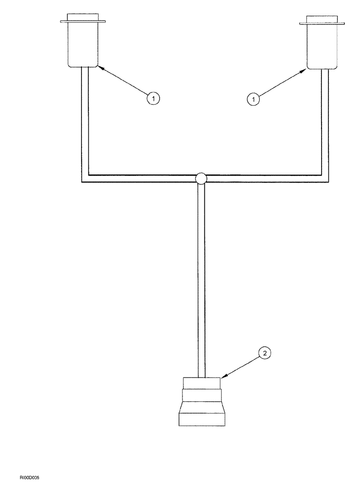
(02-66) - HARNESS, SERVICE TOOL, HYD. ONLY
№
Артикул
Название
Примечание
Количество
311651A1
HARNESS service tool, can diagnostic connector
1шт.
1
334036A1
CONNECTOR, ELEC
CONNECTOR electrical, 15 cavity
2шт.
2
310060A1
CONNECTOR electrical, 9 cavity
Выбрано товаров: 0