Запчасти Case IH AFS (03-20) - HARNESS, INSIDE CAB (55) - ELECTRICAL SYSTEMS

Схема запчастей Case IH AFS - (03-20) - HARNESS, INSIDE CAB (55) - ELECTRICAL SYSTEMS
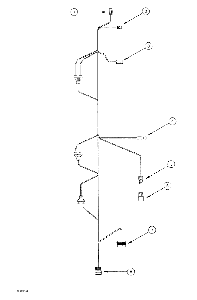
2
6
8
3
7
5
1
4
FIT
1:1
100%

Артикул

Название

Примечание

Количество

372278A1

HARNESS

inside cab, MX Magnum

1шт.

1

223679A1

MULTIPOLE CONNECTOR,Female, 12 Pin

12-way DTM plug, black

1шт.

2

223671A1

CONTACT HOUSING,Female, 12 Pin

12-way DTM plug, gray

1шт.

3

239451A1

MULTIPOLE CONNECTOR,Female, 4 Pin

4-cav plug DT series

1шт.

4

225350C1

ELEC CONNECTOR,Male, 6 Pin

electrical, type LY

1шт.

5

245482C1

ELEC CONNECTOR,2 Pin

wire

1шт.

6

245483C1

ELEC CONNECTOR,Male, 2 Pin

harness, female

1шт.

7

182081A1

TERMINAL CONNECTOR,Female, 5 Pin

tower 5-way metri-pak

1шт.

8

305678A1

CONNECTOR, ELEC

CONNECTOR electrical

1шт.

Выбрано товаров: 9