Запчасти Case IH AFS (03-24) - IMPLEMENT CONNECTOR MOUNTING (55) - ELECTRICAL SYSTEMS

Схема запчастей Case IH AFS - (03-24) - IMPLEMENT CONNECTOR MOUNTING (55) - ELECTRICAL SYSTEMS
1
5
2
3
4
FIT
1:1
100%

Артикул

Название

Примечание

Количество

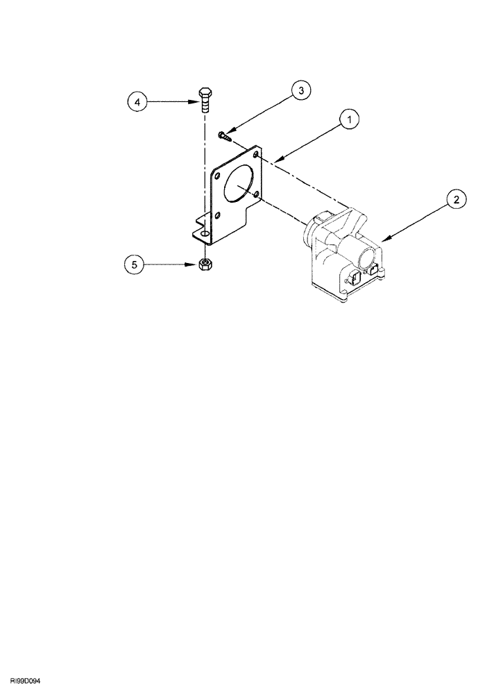
1

296190A1

SUPPORT

implement receptacle

1шт.

2

323597A1

MULTIPOLE CONNECTOR

implement, electrical

1шт.

3

779-34616

SELF-TAP SCREW,Hex Hd, M6.3 x 16

hex-head, 6.3 x 16 mm

4шт.

4

844-8020

BOLT,Hvy Hex, M8 x 20mm, Cl 8.8

2шт.

L18337

CABLE TIE,9.95"-12.1" lg

CABLE STRAP tie, 15 inch, included in the AFS display installation kit, but not shown

1шт.

278316A1

CLIP,ELECTRICAL

retainer, included in the AFS display installation kit, but not shown

3шт.

Выбрано товаров: 6