Запчасти Case IH AS1002 (55) - MODEL AS1502 FUEL TANK GROUP (10) - ENGINE

Схема запчастей Case IH AS1002 - (55) - MODEL AS1502 FUEL TANK GROUP (10) - ENGINE
17
18
6
5
5
17
13
3
9
17
17
15
1
8
4
11
10
16
12
17
2
7
14
FIT
1:1
100%

Артикул

Название

Примечание

Количество

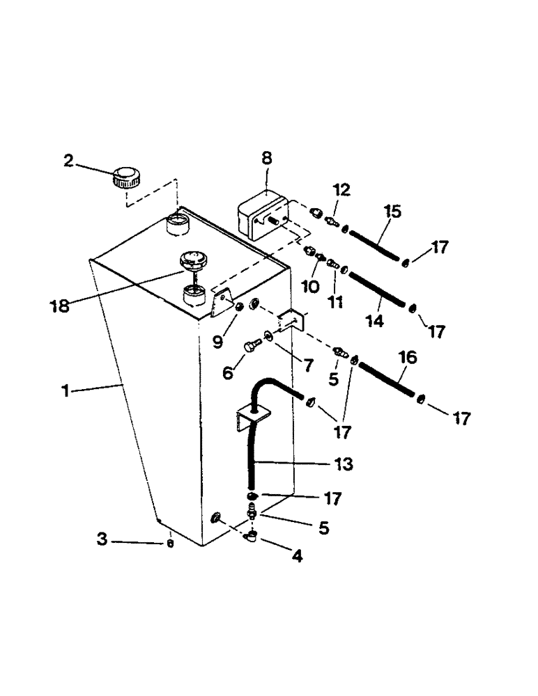
1

1015992

FUEL TANK ASSEMBLY

1шт.

2

1015991

FILLER CAP

CAP, filler

1шт.

3

1013113

PLUG

3/8" NPT

1шт.

4

1015058

ELBOW

STREET ELBOW

1шт.

5

1014670

FITTING

barb

2шт.

6

1013020

BOLT

BOLT, hex, 1/2" x 3/4", Gr. 5

4шт.

7

1011584

WASHER

4шт.

8

1013157

FILTER, FUEL

1шт.

9

1013376

LOCK NUT

NUT, hex, 5/16", lock

1шт.

10

1013158

FITTING

ADAPTER

1шт.

11

1013159

FITTING

BARB, adapter

1шт.

12

1013160

FITTING

BARB

1шт.

13

1016180

FUEL HOSE,0.25" ID x 50.00"

Tank to Pump 0.25" ID x 50.00"

1шт.

14

1016178

FUEL HOSE,0.25" ID x 24.00"

Pump to Filter 0.25" ID x 24.00"

1шт.

15

1016179

FUEL HOSE,0.25" ID x 33.00"

Filter to Engine 0.25" ID x 33.00"

1шт.

Ref: 15 1013157 Used on S/N CKB0011847 & Prior for S/N's after use spin on filter 311934A1 per ECN CD981225 It will require new bracket 306697A1 to attach filter to engine. A kit p/n 311932A1 is also released to adapt old fuel style filters to new. NAPO Tech. Note

1шт.

16

1016179

FUEL HOSE,0.25" ID x 33.00"

Return 0.25" ID x 33.00"

1шт.

17

1012406

CLAMP

8шт.

18

1016063

ELECTRICAL GAUGE

FUEL GAUGE

1шт.

Выбрано товаров: 19