Запчасти Case IH AS1502 (40) - ELECTRICAL SYSTEM - GAS (55) - ELECTRICAL SYSTEMS

Схема запчастей Case IH AS1502 - (40) - ELECTRICAL SYSTEM - GAS (55) - ELECTRICAL SYSTEMS
9
19
5
19
18
16
10
10
20
7
1
17
12
9
3
8
11
21
8
14
13
4
22
7
15
2
6
23
FIT
1:1
100%

Артикул

Название

Примечание

Количество

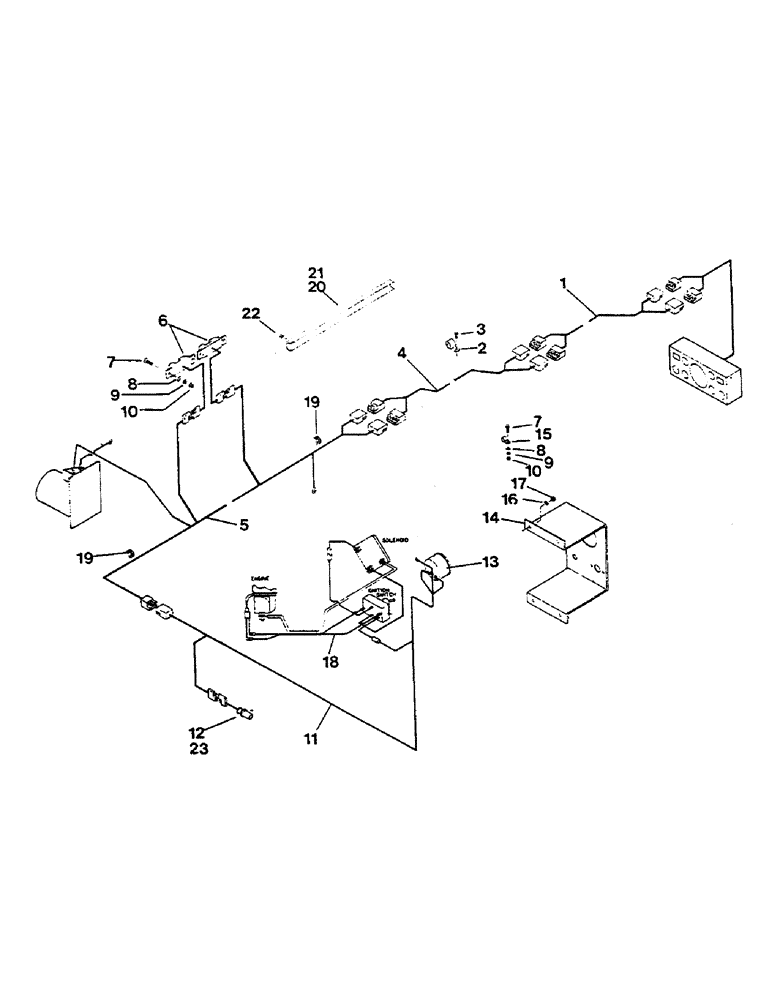
1

1016276

HARNESS

WIRING HARNESS, tractor

1шт.

2

1016352

CLAMP

harness

15шт.

3

100862

GASKET

SCREW

15шт.

4

1016277

HARNESS

WIRING HARNESS, tillage system

1шт.

5

1016278

ASSEMBLY

WIRING HARNESS, air system 1002

1шт.

1016279

HARNESS

WIRING HARNESS, air system 1502

1шт.

6

1016121

SENSOR

bin level

2шт.

7

1014728

SCREW

#10 x .75, full thread

8шт.

8

1016237

WASHER

flat

8шт.

9

1013389

THRUST WASHER

LOCKWASHER, star

8шт.

10

1011588

NUT,#10-24

hex, #10

8шт.

11

1016280

HARNESS

WIRING HARNESS, tach. & engine

1шт.

12

1016300

SENSOR

PICK-UP, magnetic

1шт.

13

1016068

METER

TACHOMETER

1шт.

14

1016245

INSTRUMENT PANEL

1шт.

15

1016234

CLAMP

harness

3шт.

16

1014125

LOCK WASHER

LOCKWASHER

4шт.

17

1011575

NUT,5/16"-18, G5

hex

4шт.

18

1016282

HARNESS

WIRING HARNESS

1шт.

19

1016235

GROMMET

2шт.

20

1016247

CHANNEL

wire protector, 32" long

3шт.

21

1016248

CHANNEL, harness protector, 75" long

1шт.

22

1011575

NUT,5/16"-18, G5

hex, 5/16"

9шт.

23

1016492

LOCK NUT

NUT, jam

2шт.

Выбрано товаров: 24