Запчасти Case IH AS1502 (41) - BATTERY ASSEMBLY (55) - ELECTRICAL SYSTEMS

Схема запчастей Case IH AS1502 - (41) - BATTERY ASSEMBLY (55) - ELECTRICAL SYSTEMS
1
8
3
2
5
4
6
7
FIT
1:1
100%

Артикул

Название

Примечание

Количество

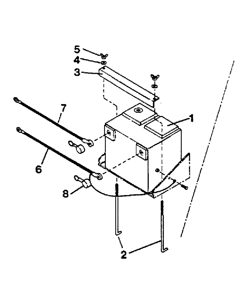
1

1014909

BATTERY

1шт.

2

1012418

ROD

battery hold down

2шт.

3

1012627

ANGLE

HOLD DOWN ANGLE

1шт.

4

1011582

WASHER

2шт.

5

1013050

WING NUT, 5/16"

2шт.

6

1014910

NEG BATTERY CABLE

BATTERY CABLE, 25"

1шт.

7

1016350

CABLE

BATTERY CABLE, 40"

1шт.

8

1014912

CAP

TERMINAL CAP

2шт.

Выбрано товаров: 8