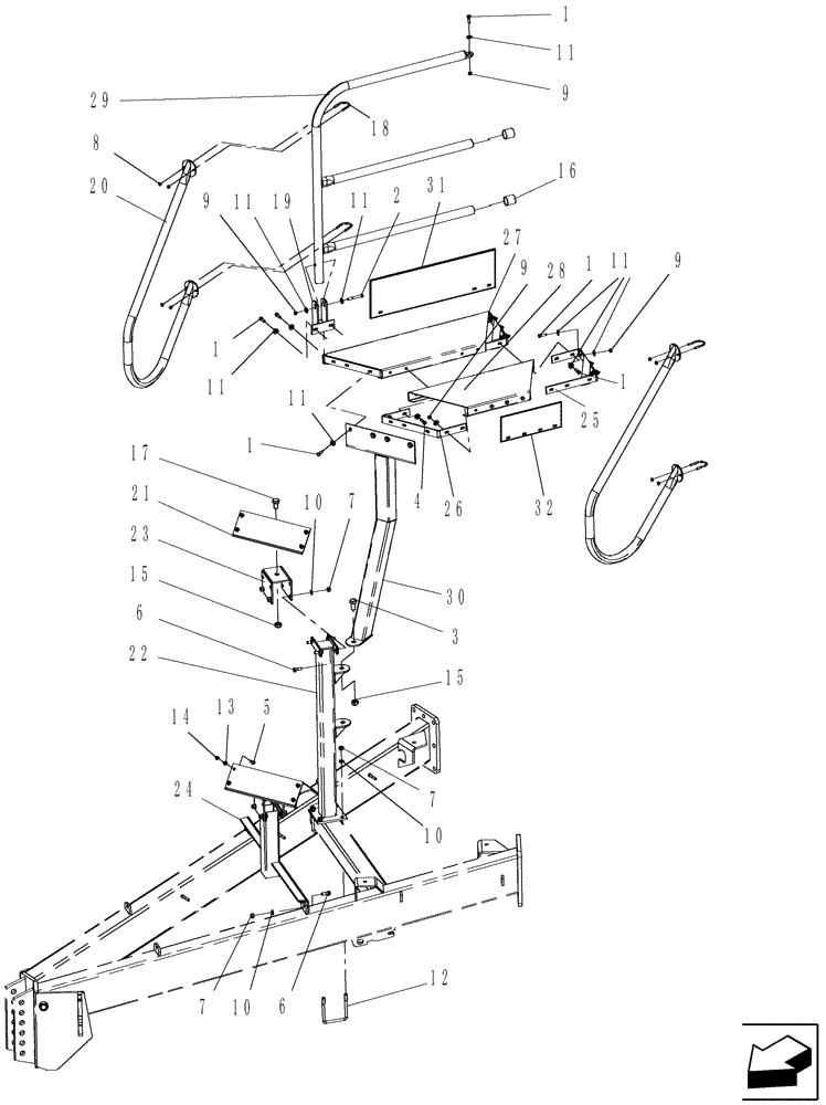
Запчасти Case IH 2230 (39.100.06) - FRONT STAIRWAY PLATFORM (39) - FRAMES AND BALLASTING

Схема запчастей Case IH 2230 - (39.100.06) - FRONT STAIRWAY PLATFORM (39) - FRAMES AND BALLASTING
10
15
27
3
9
9
26
16
30
1
24
14
7
11
9
28
11
15
22
21
11
1
32
10
19
25
1
11
2
12
20
18
4
11
7
8
6
11
7
10
1
6
29
31
13
1
23
5
17
9
FIT
1:1
100%

Артикул

Название

Примечание

Количество

1

1348

BOLT,Hex, 3/8"-16 x 1 1/4", G5, Full Thd

14шт.

2

1378

BOLT,Hex, 3/8" - 16 x 3", Gr 5

1шт.

3

1421

BOLT,Hex, 3/4"-10 x 1 1/2", G5

1шт.

4

1488

BOLT,Hex, 3/8"-16 x 1 1/2", G5

2шт.

5

88206

BOLT,Hex, 3/8" - 16 x 1", Gr 5

16шт.

6

87670

BOLT,1/2" - 13 x 1-1/4", Full Thd, Gr 5

10шт.

7

1539

NUT,1/2"-13, G5

14шт.

8

1548

LOCK NUT,5/16"-18, GC

8шт.

9

1549

LOCK NUT,3/8"-16, GB

25шт.

10

80679

LOCK WASHER,1/20.507 CST ZND

14шт.

11

1563

WASHER,3/8"

41шт.

12

1859

U-BOLT

us 1/2"-13 4 1/8" w 5 1/4" d G5 1 1/4" thread

2шт.

13

2115

LOCK WASHER

3/8"

8шт.

14

2335

NUT,3/8"-16, G5

8шт.

15

2427-1

SPRING

3/4"-10, GB

3шт.

16

3419

CAP

vinyl 1 5/8" x 1 1/2"

2шт.

17

6298

BOLT,Hex, 3/4"-10 x 1 1/4", G5

Hex, 3/4"-10 x 1 1/4", G5

2шт.

18

6652

U-BOLT

ur 5/16"-18 x 1 3/4" w 2 3/4" d 1" thread

4шт.

19

GI-801

BRACKET

mount, railing

1шт.

19

84344056

GRAB RAIL

2011 Bracket, Mountin, Railing, With Toekick

1шт.

20

GI-830

HANDRAIL

access

2шт.

21

GI-864

MOUNTING PLATE

front access

2шт.

22

GI-865

ARM

main support front access

1шт.

23

GI-866

BRACKET

front access adjustment

2шт.

24

GI-867

BRACKET

front access mount

1шт.

25

GI-880

CAP

end, landing extension

2шт.

25

84360670

BRACKET

2011 Cap, End, Landing Extension With Toekick

2шт.

26

GI-881

CAP

end, landing

2шт.

26

843690660

2011 Cap, End, Landing With Toekick

2шт.

27

GI-882

PLATFORM

front access - long

1шт.

27

84360668

PLATFORM

2011 Platform, Front Access, - Long With Toekick

1шт.

28

GI-883

PLATFORM

front access - short

1шт.

28

84360665

PLATFORM

2011 Platform. Front Access, - Short With Toekick

1шт.

29

GI-884

RAIL ASSY.

outer - front access

1шт.

29

84360642

GRAB RAIL

2011 Rail Assy, Outer - Front Access With Toekick

1шт.

30

GI-887

SUPPORT

post, front landing

1шт.

30

84360624

SUPPORT

2011 Support, Post, Front Landing With Toekick

1шт.

31

84361057

BRACKET

2011 Bracket Toekick Front Access

1шт.

32

84361067

BRACKET

2011 Bracket Toekick Front Access

1шт.

Выбрано товаров: 39