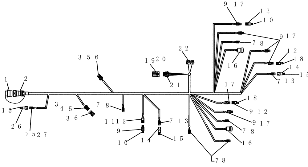
Запчасти Case IH 2230 (55.100.04) - HARNESS, TBH AIR CART (55) - ELECTRICAL SYSTEMS

Схема запчастей Case IH 2230 - (55.100.04) - HARNESS, TBH AIR CART (55) - ELECTRICAL SYSTEMS
7
15
8
3
9
7
5
26
11
14
5
17
17
8
17
9
3
6
10
17
13
15
8
4
14
3
16
1
10
18
8
7
12
12
19
21
20
7
27
16
12
9
7
9
13
15
18
2
6
12
25
22
7
9
FIT
1:1
100%

Артикул

Название

Примечание

Количество

0

87641705

HARNESS

tow behind

1шт.

1

788614

PROTECTING COVER,2" OD x 1.7" Long

dust 23 con rcp Deutsch

1шт.

2

279043A1

ELEC CONNECTOR,Female, 9 Pin

metal 9c plug

1шт.

3

14890

STOP LOCK

2c plug connector

3шт.

4

87688710

MULTIPOLE CONNECTOR,Female, 2 Pole

cab plastic 2c plug

1шт.

5

419992A1

SEAL

connector ppl 4.5-3.6 mm

4шт.

6

292549A1

CONNECTOR, ELEC

CONNECTOR plastic 2c receptacle

2шт.

7

51200009

STOP LOCK

3c plug

20шт.

8

87696551

CONTACT HOUSING,Female, 3 Pole

cab plastic plug 3c

5шт.

9

87692855

CONTACT HOUSING,Male, 2 Cavities

plastic 2c plug

6шт.

10

225127C1

PLUG

cavity, green rubber

4шт.

11

225124C1

SEAL,2 - 2.9 mm2

seal grn 2.8-2 omm

2шт.

12

87692877

MULTIPOLE CONNECTOR,Male, 2 Cavities

plastic 2c receptacle

4шт.

13

87696551

CONTACT HOUSING,Female, 3 Pole

cab plastic plug 3c

2шт.

14

87696545

CONTACT HOUSING,Male, 3 Pole

cab plastic rcp 3c

2шт.

15

225055C1

PLUG

connector 20awg

8шт.

16

225224C1

ELEC CONNECTOR,Female, 5 Pin

plastic 5c plug

2шт.

17

225125C1

SEAL

Connector Grey 3.49 - 2.81 mm

12шт.

18

225127C1

PLUG

cavity, green rubber

4шт.

19

298176A1

PLUG

6шт.

20

256349A1

ELEC CONNECTOR,Male, 6 Pin

6 Pin Plug

1шт.

21

256348A1

ELEC CONNECTOR,Female, 6 Pin

6 Pin, Packard

1шт.

22

87268798

MULTIPOLE CONNECTOR,Female, 30 Pole

30c plug b key

1шт.

25

222135A1

CONNECTOR, ELEC

CONNECTOR plastic 2c plug

1шт.

26

222136A1

ELEC CONNECTOR,Male, 2 Pin

plastic 2c receptacle

1шт.

27

222846A1

STOP LOCK

2c plug connector

2шт.

Выбрано товаров: 26