Запчасти Case IH 2280 (55.100.14) - ALTERNATOR HARNESS, VARIABLE DRIVE (55) - ELECTRICAL SYSTEMS

Схема запчастей Case IH 2280 - (55.100.14) - ALTERNATOR HARNESS, VARIABLE DRIVE (55) - ELECTRICAL SYSTEMS
3
5
4
1
3
7
6
8
9
3
2
FIT
1:1
100%

Артикул

Название

Примечание

Количество

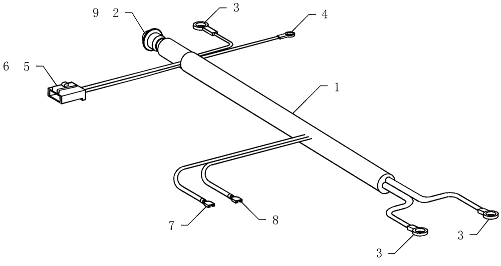
1

419982A1

HARNESS

alternator VR air cart

1шт.

2

425053A1

LENS

indicator round red

1шт.

3

425051A1

RING

terminal 10-12awg 1/2 yellow

3шт.

4

425052A1

RING

terminal 10-12 1/4" yellow

1шт.

5

402314C1

CONNECTION

elec plastic plug 2c

1шт.

6

87505179

SOCKET

18-20awg

2шт.

7

425044A1

TERMINAL CONNECTOR,22 - 18 SAE

terminal disc 22-18awg 1/4" f

1шт.

8

225185C1

TERMINAL CONNECTOR

disc 12-10awg

1шт.

9

86000377

BULB

C2F, #1893, 14V

1шт.

Выбрано товаров: 9