Запчасти Case IH 2330 (55.100.06) - CABLE TERMINATOR/CLUTCH SOLENOID (55) - ELECTRICAL SYSTEMS

Схема запчастей Case IH 2330 - (55.100.06) - CABLE TERMINATOR/CLUTCH SOLENOID (55) - ELECTRICAL SYSTEMS
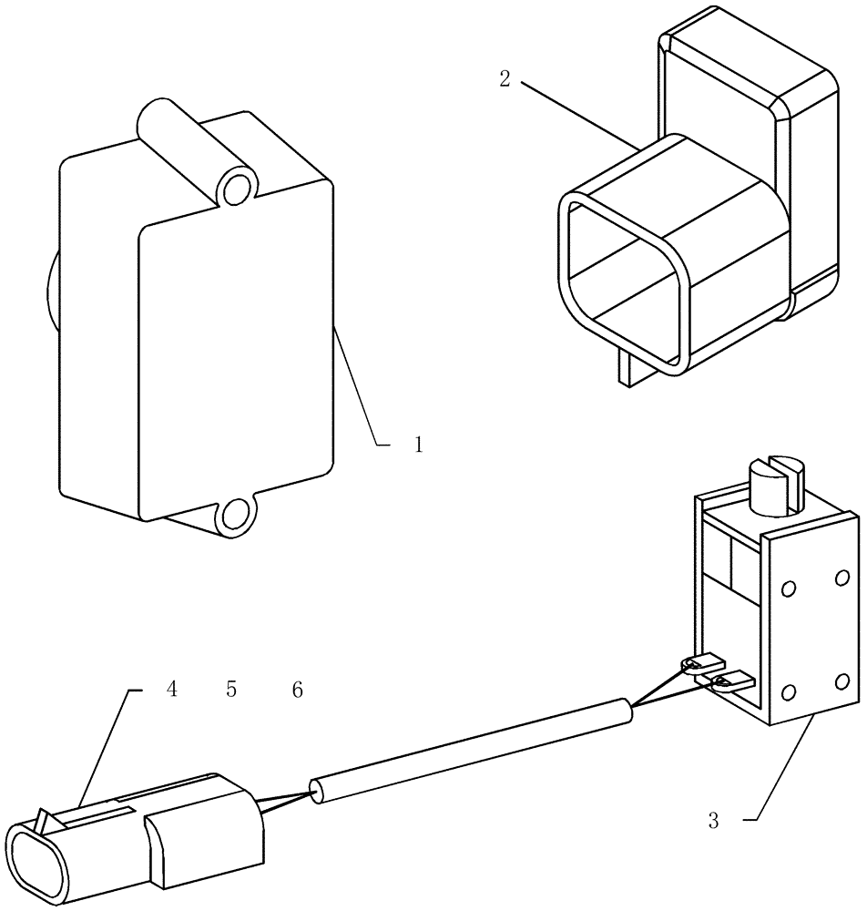
2
1
6
3
4
5
FIT
1:1
100%

Артикул

Название

Примечание

Количество

1

425049A1

MODULE

terminator passive (Black)

1шт.

2

87601142

ELEC CONNECTOR,Female, 6 Cavities

electronic control unit

1шт.

3

51200032

SOLENOID

assembly, clutch

1шт.

4

87692877

MULTIPOLE CONNECTOR,Male, 2 Cavities

plastic 2c receptacle

1шт.

5

225120C1

TERMINAL CONNECTOR,Tin, 0.8mm

18-20awg

2шт.

6

225124C1

SEAL,2 - 2.9 mm2

seal grn 2.8-2 omm

2шт.

Выбрано товаров: 6