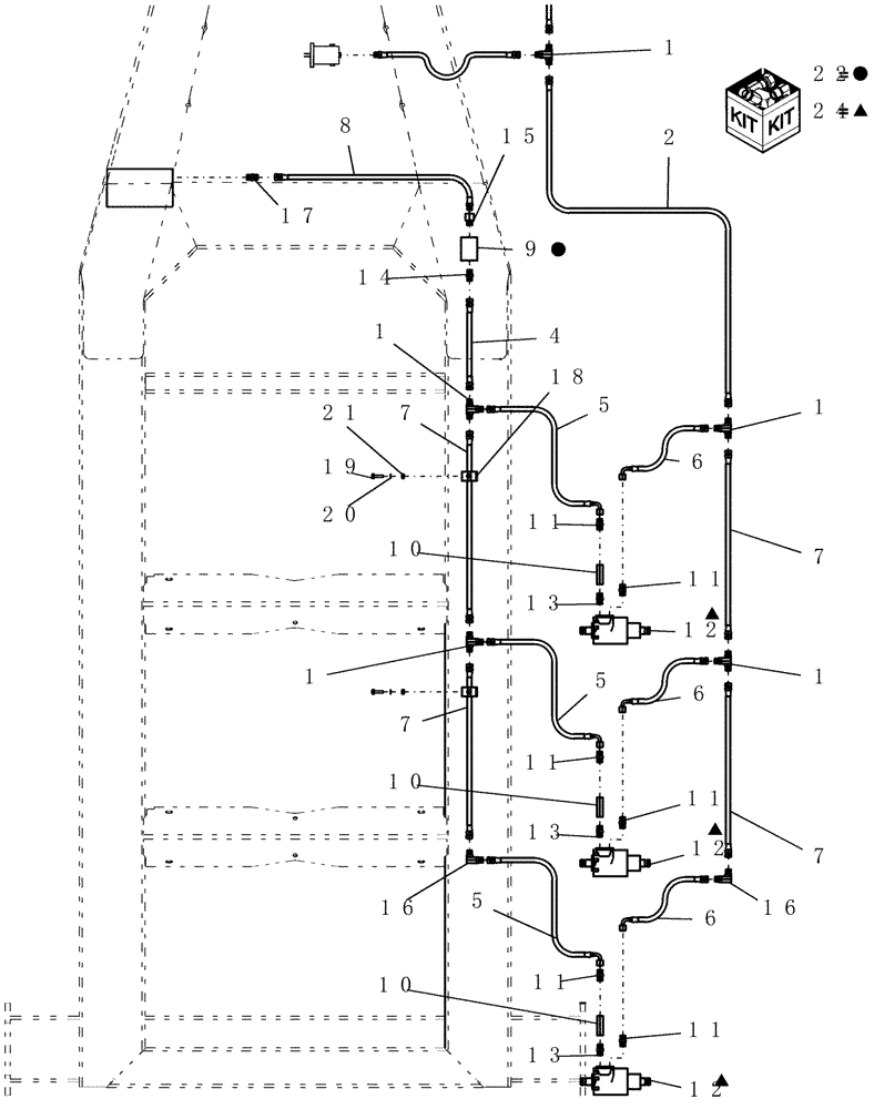
Запчасти Case IH 3380 (35.110.01) - HYDRAULICS - MAIN FRAME - VARIABLE DRIVE (3 TANK) (35) - HYDRAULIC SYSTEMS

Схема запчастей Case IH 3380 - (35.110.01) - HYDRAULICS - MAIN FRAME - VARIABLE DRIVE (3 TANK) (35) - HYDRAULIC SYSTEMS
11
17
16
10
11
18
7
1
13
12
5
1
9
22
1
10
11
13
7
21
2
12
12
6
1
10
5
15
6
8
11
7
11
1
7
24
4
6
5
11
14
19
16
13
20
FIT
1:1
100%

Артикул

Название

Примечание

Количество

1

128996

TEE,3/4" - 16 JIC x 3/4" - 16 JIC x 3/4" - 16 JIC

5шт.

2

22519

LINE

hydraulic 1/2" od x 30 1/2" ~ 1/2" fjic x 1/2" fjic

1шт.

4

22518

LINE

hydraulic 1/2" od x 28 1/2" ~ 1/2" fjic x 1/2" fjic

1шт.

5

87446695

HYDRAULIC HOSE

3/8" x 23" fl, 1/2" fjic x 3/8" fjic

3шт.

6

87446398

HYDRAULIC HOSE,0.38" ID x 20.00", SAE J517, SAE J516, SAE J343

1/2" fjic x 3/8" fjic

3шт.

7

22517

LINE

hydraulic 1/2" od x 31" ~ 1/2" fjic x 1/2" fjic

4шт.

8

87500080

HYDRAULIC HOSE

1/2" x 45" fl

1шт.

9

87504025

FILTER

hyd in-line 8forb 25 m

1шт.

10

22447

VALVE

1 1/4" gpm p. comp deltrol pressure compensated

3шт.

11

76350

HYD CONNECTOR,9/16" - 18 ORB x 9/16" - 18 JIC

6шт.

12

GM-363

HYDRAULIC MOTOR

torque generator 2 3/16" 3/rev

3шт.

13

22448

FITTING

hydraulic - straight adapter 3/8" morb x 3/8" morb

3шт.

14

128818

UNION,3/4" - 16 ORB x 3/4" - 16 JIC

1шт.

15

412756A1

FITTING

1/2" mb 1/2" fjx

1шт.

16

216791

ELBOW,90 Degree, 3/4"-16, 37 Degree x 3/4"-16, 37 Degree

1шт.

17

128818

UNION,3/4" - 16 ORB x 3/4" - 16 JIC

1шт.

18

84307616

CLAMP

plastic, hydraulic tube

1шт.

19

88436

BOLT,Hex, 3/8" - 16 x 2", Gr 5

2шт.

20

80664

WASHER,0.38" ID x 0.88" OD x 0.08" Thk

2шт.

21

88902

NUT,3/8"-16

2шт.

22

87504039

SERVICE KIT

filter oil element & seal

1шт.

24

22396

SEAL KIT

torque generator

1шт.

Выбрано товаров: 22