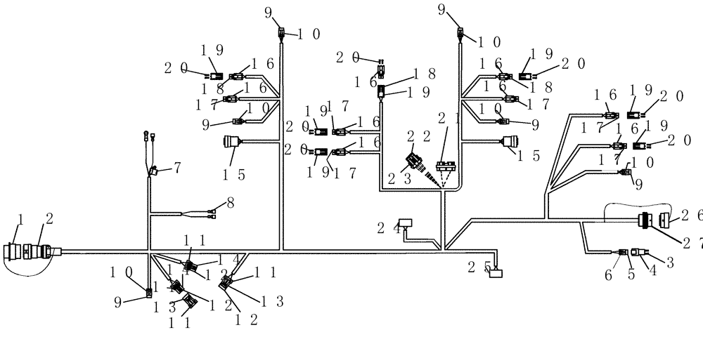
Запчасти Case IH 3380 (55.100.04) - TOW BETWEEN AIR CART HARNESS (55) - ELECTRICAL SYSTEMS

Схема запчастей Case IH 3380 - (55.100.04) - TOW BETWEEN AIR CART HARNESS (55) - ELECTRICAL SYSTEMS
b
b
17
23
1
19
14
a
2
14
a
20
10
16
a
b
10
b
15
11
a
3
16
9
4
19
19
26
20
21
16
20
16
19
11
6
9
10
16
16
17
b
b
12
9
9
a
19
24
17
11
5
18
20
a
10
20
17
8
16
19
12
20
16
17
19
10
12
7
9
11
a
b
18
22
13
20
17
10
9
27
18
25
15
16
13
FIT
1:1
100%

Артикул

Название

Примечание

Количество

0

87631173

HARNESS

2 tank tow between cart

1шт.

1

788614

PROTECTING COVER,2" OD x 1.7" Long

dust 23 con rcp Deutsch

1шт.

2

279043A1

ELEC CONNECTOR,Female, 9 Pin

metal 9c plug

1шт.

3

225055C1

PLUG

connector 20awg

2шт.

4

222136A1

ELEC CONNECTOR,Male, 2 Pin

plastic 2c receptacle

1шт.

5

222846A1

STOP LOCK

2c plug connector

2шт.

6

222135A1

CONNECTOR, ELEC

CONNECTOR plastic 2c plug

1шт.

7

13972

FUSE HOLDER

inline ato 12awg

1шт.

8

425044A1

TERMINAL CONNECTOR,22 - 18 SAE

terminal disc 22-18awg 1/4" f

3шт.

9

51200009

STOP LOCK

3c plug

6шт.

10

87696551

CONTACT HOUSING,Female, 3 Pole

cab plastic plug 3c

6шт.

11

14890

STOP LOCK

2c plug connector

4шт.

12

419992A1

SEAL

connector ppl 4.5-3.6 mm

6шт.

13

292549A1

CONNECTOR, ELEC

CONNECTOR plastic 2c receptacle

2шт.

14

87688710

MULTIPOLE CONNECTOR,Female, 2 Pole

cab plastic 2c plug

2шт.

15

225224C1

ELEC CONNECTOR,Female, 5 Pin

plastic 5c plug

2шт.

16

87692855

CONTACT HOUSING,Male, 2 Cavities

plastic 2c plug

9шт.

17

225125C1

SEAL

Connector Grey 3.49 - 2.81 mm

6шт.

18

225124C1

SEAL,2 - 2.9 mm2

seal grn 2.8-2 omm

3шт.

19

87692877

MULTIPOLE CONNECTOR,Male, 2 Cavities

plastic 2c receptacle

7шт.

20

225127C1

PLUG

cavity, green rubber

7шт.

21

87268798

MULTIPOLE CONNECTOR,Female, 30 Pole

30c plug b key

1шт.

22

321834A1

SEAL

1шт.

23

256348A1

ELEC CONNECTOR,Female, 6 Pin

6 Pin, Packard

1шт.

24

182081A1

TERMINAL CONNECTOR,Female, 5 Pin

Tower 5-way Metri-pak

1шт.

25

182079A1

TERMINAL CONNECTOR,Male, 5 Pin

Shroud 5 Way Metri-Pak 280

1шт.

26

245041C1

CAP

dust 23 cond plug Deutsch

1шт.

27

352506A1

ELEC CONNECTOR,Male, 9 Pin

metal 9c receptacle

1шт.

Выбрано товаров: 28