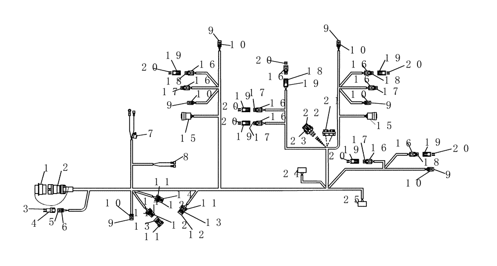
Запчасти Case IH 3380 (55.100.05) - TOW BEHIND AIR CART HARNESS (55) - ELECTRICAL SYSTEMS

Схема запчастей Case IH 3380 - (55.100.05) - TOW BEHIND AIR CART HARNESS (55) - ELECTRICAL SYSTEMS
9
b
16
21
18
16
20
12
16
18
18
9
b
15
7
17
11
19
16
19
11
16
b
20
1
5
17
9
b
13
16
a
10
10
19
13
10
b
10
4
a
20
b
20
16
17
9
17
14
15
6
b
19
22
a
3
25
12
23
19
24
17
19
20
a
9
12
11
14
10
8
16
a
10
2
a
20
11
9
16
18
19
a
20
FIT
1:1
100%

Артикул

Название

Примечание

Количество

0

87538540

HARNESS

2 tank tow behind cart

1шт.

1

788614

PROTECTING COVER,2" OD x 1.7" Long

dust 23 con rcp Deutsch

1шт.

2

279043A1

ELEC CONNECTOR,Female, 9 Pin

metal 9c plug

1шт.

3

225055C1

PLUG

connector 20awg

2шт.

4

222136A1

ELEC CONNECTOR,Male, 2 Pin

plastic 2c receptacle

1шт.

5

222846A1

STOP LOCK

2c plug connector

1шт.

6

222135A1

CONNECTOR, ELEC

CONNECTOR plastic 2c plug

1шт.

7

13972

FUSE HOLDER

inline ato 12awg

1шт.

8

425044A1

TERMINAL CONNECTOR,22 - 18 SAE

terminal disc 22-18awg 1/4" f

3шт.

9

51200009

STOP LOCK

3c plug

6шт.

10

87696551

CONTACT HOUSING,Female, 3 Pole

cab plastic plug 3c

6шт.

11

14890

STOP LOCK

2c plug connector

4шт.

12

419992A1

SEAL

connector ppl 4.5-3.6 mm

6шт.

13

292549A1

CONNECTOR, ELEC

CONNECTOR plastic 2c receptacle

2шт.

14

87688710

MULTIPOLE CONNECTOR,Female, 2 Pole

cab plastic 2c plug

2шт.

15

225224C1

ELEC CONNECTOR,Female, 5 Pin

plastic 5c plug

2шт.

16

87692855

CONTACT HOUSING,Male, 2 Cavities

plastic 2c plug

9шт.

17

225125C1

SEAL

Connector Grey 3.49 - 2.81 mm

10шт.

18

225124C1

SEAL,2 - 2.9 mm2

seal grn 2.8-2 omm

8шт.

19

87692877

MULTIPOLE CONNECTOR,Male, 2 Cavities

plastic 2c receptacle

7шт.

20

225127C1

PLUG

cavity, green rubber

14шт.

21

87268798

MULTIPOLE CONNECTOR,Female, 30 Pole

30c plug b key

1шт.

22

321834A1

SEAL

1шт.

23

256348A1

ELEC CONNECTOR,Female, 6 Pin

6 Pin, Packard

1шт.

24

182081A1

TERMINAL CONNECTOR,Female, 5 Pin

Tower 5-way Metri-pak

1шт.

25

182079A1

TERMINAL CONNECTOR,Male, 5 Pin

Shroud 5 Way Metri-Pak 280

1шт.

Выбрано товаров: 26