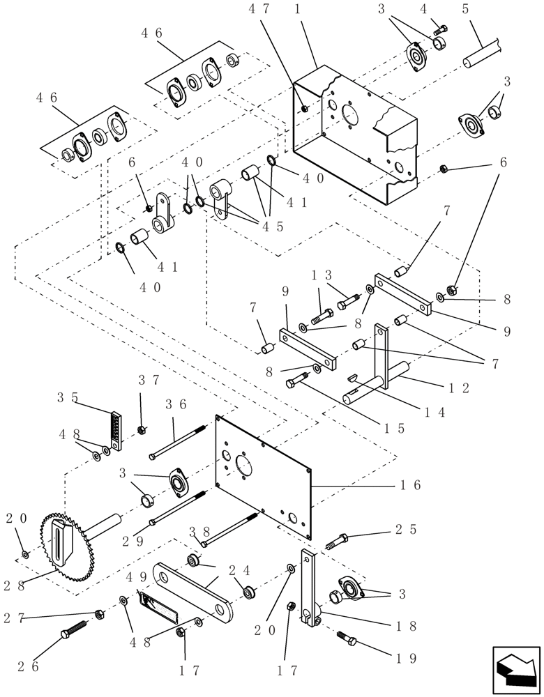
Запчасти Case IH 3430 (75.100.15) - METER DRIVE BOX (75) - SOIL PREPARATION

Схема запчастей Case IH 3430 - (75.100.15) - METER DRIVE BOX (75) - SOIL PREPARATION
3
46
9
4
35
25
7
5
24
the set screw
17
12
9
20
1
27
6
29
41
40
6
8
15
7
3
locking nut not
40
8
38
49
14
19
18
40
3
20
8
46
7
16
48
37
17
48
3
36
26
45
47
28
41
13
FIT
1:1
100%

Артикул

Название

Примечание

Количество

0

GL-732A

TRANSFER BOX

meter drive assembly

1шт.

1

GD-182

HOUSING

meter drive

1шт.

3

3756

FLANGED BEARING

1" bore 2 hole flange mount

4шт.

4

87872

BOLT,Hex, 5/16" - 18 x 3/4", Gr 5

1шт.

5

GH-224

SHAFT

output, c/w stator ring

1шт.

6

88902

NUT,3/8"-16

3шт.

7

425022A1

RING

inner bearing

4шт.

8

80702

WASHER,0.44" ID x 1" OD x 0.08" Thk

4шт.

9

GD-189

CONNECTING ROD

inner

2шт.

12

GD-188

SHAFT

counter

1шт.

13

9706689

BOLT,Hex, 3/8" - 16 x 1 3/4", Gr 5

2шт.

14

47471

WOODRUFF KEY,#15, 1/4" x 1", HT

1шт.

15

87936

BOLT,Hex, 3/8" - 16 x 2 1/2", Gr 5

1шт.

16

GH-320

SIDE PLATE

meter drive

1шт.

17

86992215

LOCK NUT,1/2"-13, GC

2шт.

18

GD-184

LEVER

counter shaft outer

1шт.

19

9706716

BOLT,Hex, 1/2" - 13 x 2", Gr 5

1шт.

20

81541

WASHER,0.5" ID x 1.25" OD x 0.08" Thk

2шт.

24

GH-894A

LINK

drive, assembly, outer

1шт.

25

9707516

BOLT,1/2"-13 x 1-3/4", Cl 5

1шт.

26

5810

SET SCREW,1/2" - 13 x 2-3/4"

1/2" x 2 3/4"

1шт.

27

5794

NUT

1/2"-13 L9

1шт.

28

GD-183

SHAFT

input

1шт.

29

280177

BOLT,Hex, 3/8" - 16 x 5", Gr 5

1шт.

35

GD-270A

GAUGE

assembly, meter adjustment

1шт.

Includes 5448 and 4630

1шт.

36

20304

BOLT,Hex, 3/8" - 16 x 5 1/2", Gr 5

1шт.

37

86632558

JAM NUT,Jam, 1/2"-13, G5

1шт.

38

7087

BOLT

3/8"-16 x 7", G5, 2 1/2" thread

1шт.

40

4648

SEAL

25 mm x 32 mm x 4 mm thick

4шт.

41

4647

NEEDLE BEARING

clutch

2шт.

45

GD-225A

CLUTCH

assembly, housing c/w clutch

2шт.

46

425025A1

FLANGED BEARING

2шт.

47

281010

LOCK NUT,7/8"-14, GC

1шт.

48

5868

WASHER,0.5" ID x 1" OD x 0.06" Thk

1/2" id 1" 16ga

2шт.

49

GH-500.58

DECAL

to adjust rotate

1шт.

Выбрано товаров: 36