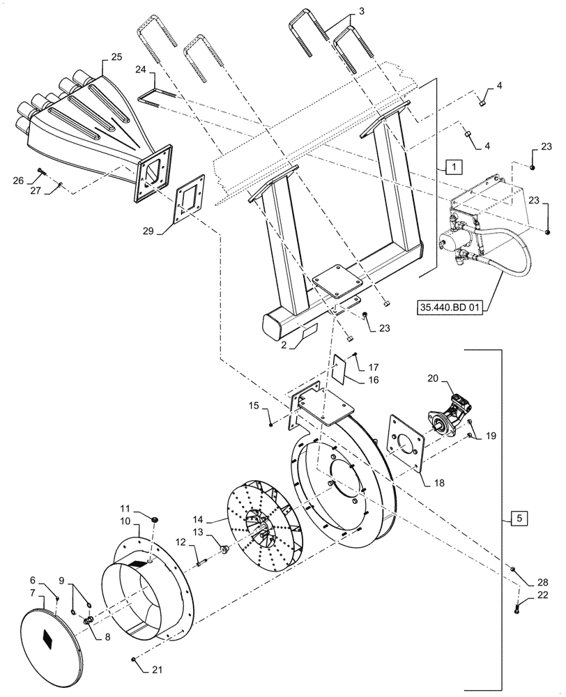
Запчасти Case IH 3445 (77.101.AB[04]) - BOTTOM FAN, 8 RUN DOUBLE SHOOT (77) - SEEDING/PLANTING

Схема запчастей Case IH 3445 - (77.101.AB[04]) - BOTTOM FAN, 8 RUN DOUBLE SHOOT (77) - SEEDING/PLANTING
35.440.bd 01
12
9
20
23
18
13
25
7
1
23
15
24
28
10
11
19
23
17
21
8
16
29
2
6
5
4
3
14
27
26
4
22
FIT
1:1
100%

Артикул

Название

Примечание

Количество

1

47698306

MOUNT

Fan, Incl 2

1шт.

2

87757489

DECAL

Moving Parts

1шт.

3

47534143

U-BOLT,M16 x 2, Square, 180mm W x 175mm L

4шт.

4

146988

LOCK NUT,M16 x 2, Cl 8

8шт.

5

47678910

BLOWER

Incl 6 - 21

1шт.

6

86625162

SELF-TAP SCREW,HWH, 1/4" - 14 x 1/2"

6шт.

7

47678918

SCREEN

Fan Cover

1шт.

8

324049A1

SENSOR

Hall Effect, Zero Speed

1шт.

9

86977690

LOCK WASHER,Ext Tooth, 5/8"

2шт.

10

47678917

INTAKE AIR HOSE

Fan Cover

1шт.

11

435810A1

GROMMET,5/8" ID x 1-1/8" OD x 3/8" Thk

1шт.

12

47738527

SCREW,Hex, M10 x 1.5 x 50mm, Cl 8.8

1шт.

13

47678919

HUB CAP

Fan

1шт.

14

47678915

IMPELLER

Fan

1шт.

15

86619800

FLANGE NUT,M6 x 1, Cl 8

1шт.

16

47687935

DEFLECTOR

Fan

1шт.

17

14305221

HEX SOC SCREW,M6 x 16mm, Full Thd, Cl 8.8

1шт.

18

47687942

MOUNT

Fan Motor

1шт.

19

87533547

NUT,Prev Torque, M12, 1.75mm Pitch, Cl 10

6шт.

20

47640700

HYDROSTATIC MOTOR

16cc, Piston

1шт.

21

87383746

FLANGE NUT,M8 x 1.25, Flg, Cl 10

12шт.

22

86629541

BOLT,Hex, M12 x 1.75 x 40mm, Cl 8.8

4шт.

23

118490

NUT,M12 x 1.75, Cl 8

8шт.

24

47592783

U-BOLT,M12 x 1.75, Square, 106mm W x 140mm L

2шт.

25

47602961

PLENUM

Fan, 8 Run

1шт.

26

120112

BOLT,Hex, M10 x 1.5 x 40mm, Cl 8.8, Full Thd

6шт.

27

86625253

WASHER,11mm ID x 24mm OD x 2mm Thk

6шт.

28

8475948

NUT,M10 x 1.5, Cl 8

6шт.

29

47602964

SEAL

Fan, 8 Run

1шт.

30

48018198

SEAL

Fan Motor

1шт.

Выбрано товаров: 30