Запчасти Case IH 3580 (35.108.01) - HYDRAULICS - AUGER (35) - HYDRAULIC SYSTEMS

Схема запчастей Case IH 3580 - (35.108.01) - HYDRAULICS - AUGER (35) - HYDRAULIC SYSTEMS
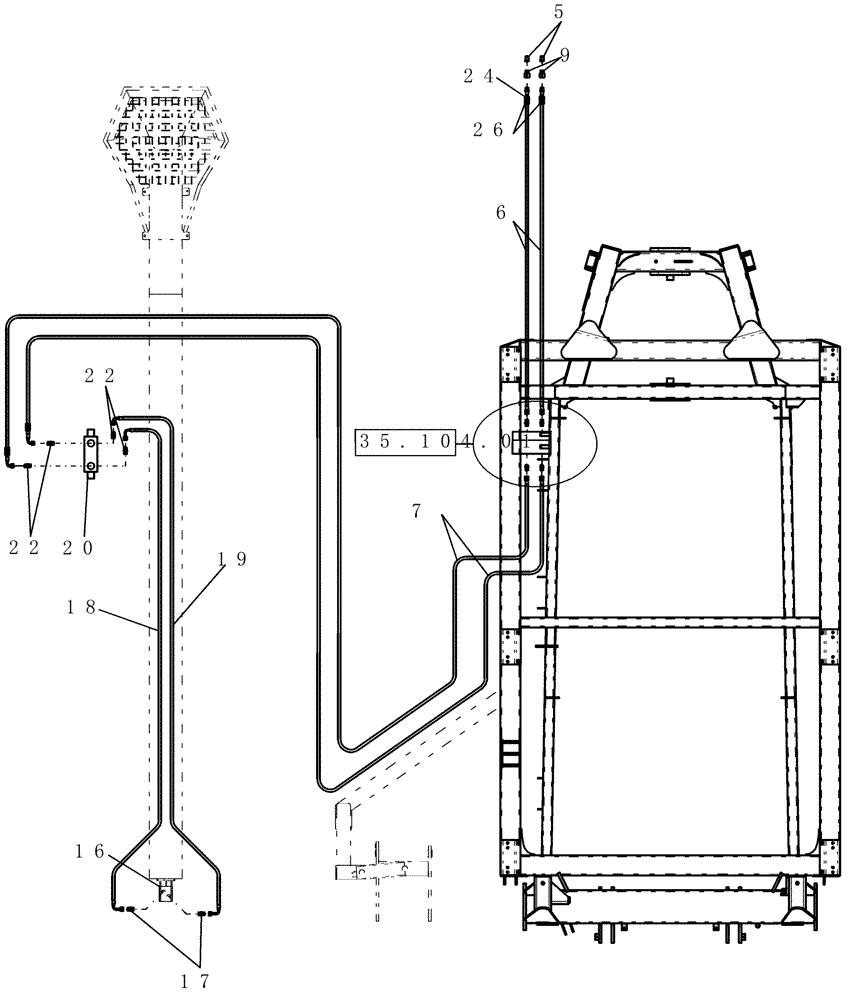
20
26
16
7
19
24
9
6
35.104.01
22
18
5
17
22
FIT
1:1
100%

Артикул

Название

Примечание

Количество

5

6936

QUICK MALE COUPLING,3/4" - 14 NPTF

3/4"

1шт.

5

9412

QUICK MALE COUPLING

1/2"

1шт.

6

87500077

HYDRAULIC HOSE,25.4mm ID x 6401mm L, SAE 100R17

1" x 252" fl

1шт.

6

87500090

HYDRAULIC HOSE,25.4mm ID x 4369mm L, SAE 100R17

1" x 172" fl

1шт.

7

87500078

HYDRAULIC HOSE,15.88mm ID x 7112mm L, SAE 100R17

1/2" x 280" fl

2шт.

9

21668

REDUCER FITTING,1/2" - 14 Male NPT x 3/4" - 14 Female NPT

hydraulic 1/2" mpt x 3/4" fpt

2шт.

16

87506224

HYDRAULIC MOTOR

10" auger

1шт.

87506224R

REMAN-HYD MOTOR

3580 (3/10-)

1шт.

87506224C

CORE-MOTOR HYDRAULIC

Return Number

1шт.

16

87364589

SEAL KIT

Danfoss

1шт.

17

128819

HYD CONNECTOR,7/8" - 14 ORB x 3/4" - 16 JIC

2шт.

18

87502466

LINE

hydraulic auger

1шт.

19

87502495

LINE

auger hydraulic

1шт.

20

87502373

VALVE

hyd rotary

1шт.

20

87415457

SEAL KIT

hydraulic valve rotary

1шт.

22

128818

UNION,3/4" - 16 ORB x 3/4" - 16 JIC

4шт.

24

GL-700.34

DECAL

auger pressure

1шт.

26

GL-373

COVER

hydraulic hose label - 1 1/2"

2шт.

26

GL-372

COVER

hydraulic hose label - 1"

2шт.

Выбрано товаров: 19