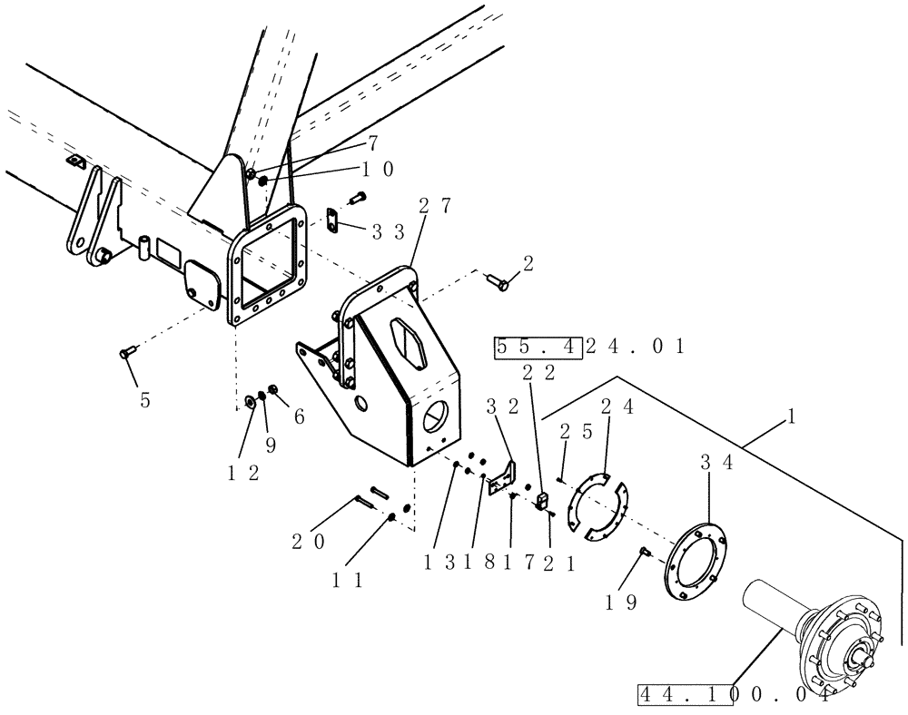
Запчасти Case IH 3580 (44.100.02) - RIGHT REAR AXLES (44) - WHEELS

Схема запчастей Case IH 3580 - (44.100.02) - RIGHT REAR AXLES (44) - WHEELS
24
18
13
22
9
33
19
32
11
12
21
20
17
2
25
1
34
27
10
5
6
7
55.424.01
44.100.04
FIT
1:1
100%

Артикул

Название

Примечание

Количество

1

GI-537A2

HUB

& Spindle & Sensor Ring Assembly 10 Bolt 4.5'' Spindle

1шт.

2

9706701

BOLT,Hex, 3/4" - 10 x 2 1/2", Gr 5

10шт.

5

9627896

BOLT,Hex, 5/8" - 11 x 1 3/4", Gr 5

4шт.

6

280374

NUT,Hex, 5/8" - 11, Gr 5

4шт.

7

280954

NUT,3/4"-10, G5

10шт.

9

12034871

WASHER

5/8"

4шт.

10

87340

LOCK WASHER,Helical Spring, 0.759" ID, CST, ZND

10шт.

11

80702

WASHER,0.44" ID x 1" OD x 0.08" Thk

2шт.

12

80299

WASHER,0.69" ID x 1.75" OD x 0.13" Thk

4шт.

13

80680

LOCK WASHER,3/8 0.381 CST ZND

2шт.

17

87016560

JAM NUT,Jam, 3/8"-16, G5

6шт.

18

9148

LOCK NUT

#10-32, stainless steel

2шт.

19

51200126

SCREW

cap 1/2"-20 x 1 1/4" G8

5шт.

20

113-250

BOLT,Hex, 3/8" - 16 x 2-1/2", Gr 5, Full Thd

2шт.

21

9809

SCREW,Hex, #10 - 32 x 5/8", SST

mch #10-32 x 5/8" hh ss

2шт.

22

13919

SENSOR

shaft

1шт.

Refer to 55.424.01

1шт.

24

21681

RING

sensor half of 60 tooth

2шт.

25

22007

SELF-TAP SCREW

#8 x 5/8" fh b pi

5шт.

27

87426807

AXLE HOUSING

32" wheel 4.5"

1шт.

32

GL-734

SENSOR

scraper

1шт.

33

GL-954

CABLE RETAINER

harness

1шт.

34

GM-325

RING

backup

1шт.

Выбрано товаров: 23