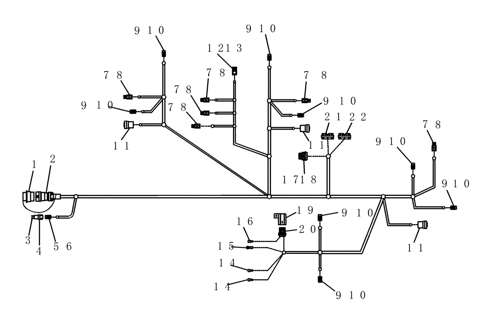
Запчасти Case IH 3580 (55.404.10) - LARGE AIR CART TBH HARNESS (55) - ELECTRICAL SYSTEMS

Схема запчастей Case IH 3580 - (55.404.10) - LARGE AIR CART TBH HARNESS (55) - ELECTRICAL SYSTEMS
9
10
19
11
5
2
8
11
7
8
10
10
9
9
7
8
1
14
14
18
15
12
13
7
10
8
8
21
8
7
10
9
17
10
16
9
9
10
11
7
3
7
6
22
9
9
4
20
10
FIT
1:1
100%

Артикул

Название

Примечание

Количество

0

84213650

HARNESS

Tow Behind, Air Cart

1шт.

1

788614

PROTECTING COVER,2" OD x 1.7" Long

dust 23 con rcp Deutsch

1шт.

2

279043A1

ELEC CONNECTOR,Female, 9 Pin

metal 9c plug

1шт.

3

225055C1

PLUG

connector 20awg

2шт.

4

222136A1

ELEC CONNECTOR,Male, 2 Pin

plastic 2c receptacle

1шт.

5

222846A1

STOP LOCK

2c plug connector

1шт.

6

222135A1

CONNECTOR, ELEC

CONNECTOR plastic 2c plug

1шт.

7

87692855

CONTACT HOUSING,Male, 2 Cavities

plastic 2c plug

6шт.

8

225125C1

SEAL

Connector Grey 3.49 - 2.81 mm

12шт.

9

87696551

CONTACT HOUSING,Female, 3 Pole

cab plastic plug 3c

8шт.

10

51200009

STOP LOCK

3c plug

12шт.

11

225224C1

ELEC CONNECTOR,Female, 5 Pin

plastic 5c plug

3шт.

12

87692877

MULTIPOLE CONNECTOR,Male, 2 Cavities

plastic 2c receptacle

1шт.

13

225124C1

SEAL,2 - 2.9 mm2

seal grn 2.8-2 omm

2шт.

14

425044A1

TERMINAL CONNECTOR,22 - 18 SAE

terminal disc 22-18awg 1/4" f

2шт.

15

425051A1

RING

terminal 10-12awg 1/2 yellow

1шт.

16

225185C1

TERMINAL CONNECTOR

disc 12-10awg

1шт.

17

321834A1

SEAL

4шт.

18

256348A1

ELEC CONNECTOR,Female, 6 Pin

6 Pin, Packard

1шт.

19

225156C1

ELEC CONNECTOR

Fuse Cover

1шт.

20

87688712

WIRE CONNECTOR,Female

1шт.

21

87268798

MULTIPOLE CONNECTOR,Female, 30 Pole

30c plug b key

1шт.

22

87268797

MULTIPOLE CONNECTOR,Female, 30 Pole

30c b plug

1шт.

Выбрано товаров: 23