Запчасти Case IH 4585 (77.100.XX[16]) - REAR AUGER SADDLE HYADRULIC 555/580 (77) - SEEDING/PLANTING

Схема запчастей Case IH 4585 - (77.100.XX[16]) - REAR AUGER SADDLE HYADRULIC 555/580 (77) - SEEDING/PLANTING
4
1
2
4
3
FIT
1:1
100%

Артикул

Название

Примечание

Количество

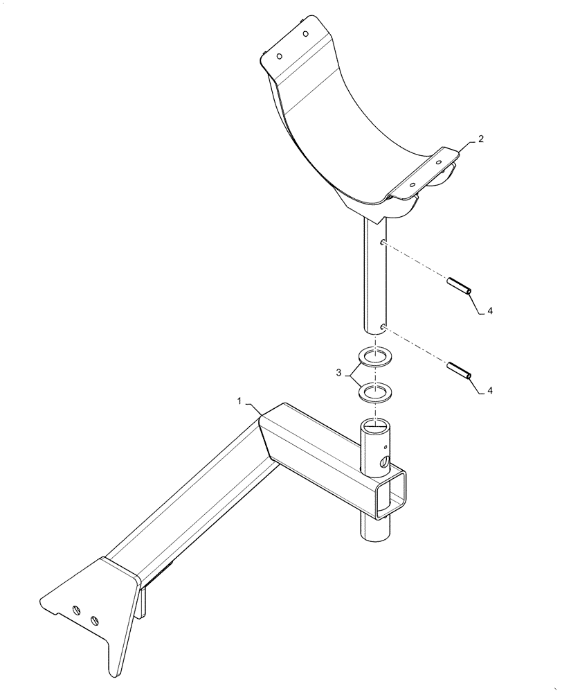
1

47505770

SUPPORT

Auger Black

1шт.

2

47505776

SUPPORT

Auger Saddle

1шт.

3

1313

WASHER,1-1/2" ID x 2-1/4" OD x 10 Ga Thk

2шт.

4

381928

ROLL PIN,10mm OD x 50mm L, Slotted

2шт.

Выбрано товаров: 4