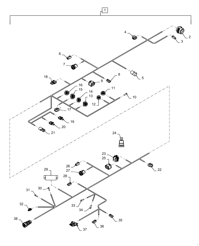
Запчасти Case IH 4765 (55.516.AT[02]) - 350 BUSHEL TOW BETWEEN HARNESS (55) - ELECTRICAL SYSTEMS

Схема запчастей Case IH 4765 - (55.516.AT[02]) - 350 BUSHEL TOW BETWEEN HARNESS (55) - ELECTRICAL SYSTEMS
2
12
30
33
25
4
32
17
29
37
16
10
9
23
11
19
5
3
35
24
7
31
36
22
34
8
15
27
21
20
6
26
38
28
1
13
14
18
FIT
1:1
100%

Артикул

Название

Примечание

Количество

1

47625035

WIRE HARNESS

350 Bushel Tow Between Cart Harness, Incl 2 - 38

1шт.

2

87703838

9 Way, Seed Tool

1шт.

2

87695623

ELEC. TERMINAL PIN

9 Way, Seed Tool

4шт.

2

87696144

ELEC. TERMINAL PIN,Male, 2 - 3.5 mm2

9 Way, Seed Tool

2шт.

2

87697948

ELEC. TERMINAL PIN,Male, 5 - 8 mm2

9 Way, Seed Tool

2шт.

2

84068583

PLUG,12 - 16 Ga, White

9 Way, Seed Tool

1шт.

2

84607513

LOCK WASHER

9 Way, Seed Tool

1шт.

2

87696184

NUT

9 Way, Seed Tool

1шт.

3

87696093

ELEC CONNECTOR,Female, 2 Cavities

Work Switch

1шт.

3

87696954

TERMINAL,Female, Nickel, 0.35 - 1.50mm

Work Switch

2шт.

4

87694714

ELEC CONNECTOR,Female, 6 Cavities

6 Way, Terminator

1шт.

4

87688852

ELEC. TERMINAL PIN

6 Way, Terminator

4шт.

4

87694719

LOCKING TAB,Wedge Lock

6 Way, Terminator

1шт.

4

87689636

PLUG,Red, Taxi Seal Connector Cavity

6 Way, Terminator

2шт.

5

87695579

WIRE CONNECTOR

6 Way, Light Module

1шт.

5

87695623

ELEC. TERMINAL PIN

6 Way, Light Module

6шт.

5

87694147

WEDGE,Locking, Green

6 Way, Light Module

1шт.

6

87696138

ELEC CONNECTOR

4 Way, Pressure 2

1шт.

6

87696954

TERMINAL,Female, Nickel, 0.35 - 1.50mm

4 Way, Pressure 2

4шт.

6

87696149

ELEC CONNECTOR

4 Way, Pressure 2

1шт.

7

87706919

ELEC CONNECTOR

5 Way, Bin 2 Sensors

1шт.

7

87695921

CONTACT,Female, Nickel, 0.50 - 1.00mm

5 Way, Bin 2 Sensors

5шт.

7

84068583

PLUG,12 - 16 Ga, White

5 Way, Bin 2 Sensors

1шт.

8

87696551

CONTACT HOUSING,Female, 3 Pole

Rear Ground Speed

1шт.

8

87696954

TERMINAL,Female, Nickel, 0.35 - 1.50mm

Rear Ground Speed

3шт.

8

87705586

WEDGE

Rear Ground Speed

1шт.

9

84137509

ELEC CONNECTOR

8 Way, Tank 2 Motors

1шт.

9

84193153

TERMINAL

8 Way, Tank 2 Motors

4шт.

9

87697672

TERMINAL

8 Way, Tank 2 Motors

4шт.

9

87699200

WIRE CONNECTOR

8 Way, Tank 2 Motors

1шт.

9

87354736

RETAINER

8 Way, Tank 2 Motors

1шт.

10

47593681

TERMINAL,M6, Tin, 5.00 - 15.00mm

Pipe Grounding

1шт.

11

82028495

MULTIPOLE CONNECTOR,Female, 34 Pole

UCM 4B

1шт.

11

87410951

TERMINAL

UCM 4B

5шт.

11

82017049

PLUG

UCM 4B

29шт.

12

82028493

MULTIPOLE CONNECTOR,Female, 26 Pole

UCM 4A

1шт.

12

87410951

TERMINAL

UCM 4A

12шт.

12

82017049

PLUG

UCM 4A

13шт.

13

84130760

ELEC CONNECTOR,Female, 34 Cavities

UCM 3B

1шт.

13

87410951

TERMINAL

UCM 3B

8шт.

13

82017049

PLUG

UCM 3B

25шт.

14

82028495

MULTIPOLE CONNECTOR,Female, 34 Pole

UCM 2B

1шт.

14

87410951

TERMINAL

UCM 2B

12шт.

14

82017049

PLUG

UCM 2B

21шт.

15

87410946

MULTIPOLE CONNECTOR,Female, 34 Cavities

UCM 1B

1шт.

15

87410951

TERMINAL

UCM 1B

10шт.

15

82017049

PLUG

UCM 1B

23шт.

16

82016219

MULTIPOLE CONNECTOR,Female, 26 Pole

UCM 1A

1шт.

16

87410951

TERMINAL

UCM 1A

14шт.

16

82017049

PLUG

UCM 1A

11шт.

17

87688712

WIRE CONNECTOR,Female

2 Way, Fuse Holder

1шт.

17

87688850

TERMINAL

2 Way, Fuse Holder

2шт.

18

87644909

WIRE CONNECTOR,Female, 3 Pins

3 Way, Auger Control

1шт.

18

87692876

CABLE TERMINAL,Female, Tin, 1 - 2mm

3 Way, Auger Control

2шт.

18

87686742

PLUG

3 Way, Auger Control

1шт.

19

87692855

CONTACT HOUSING,Male, 2 Cavities

Cal Tank 2

1шт.

19

87692856

CABLE TERMINAL

Cal Tank 2

2шт.

20

87692855

CONTACT HOUSING,Male, 2 Cavities

Cal Tank 1

1шт.

20

87692856

CABLE TERMINAL

Cal Tank 1

2шт.

21

87692877

MULTIPOLE CONNECTOR,Male, 2 Cavities

Cal Switch

1шт.

21

87692880

CABLE TERMINAL

Cal Switch

2шт.

22

87688712

WIRE CONNECTOR,Female

2 Way, Fuse Holder, ECU Power

1шт.

22

87688850

TERMINAL

2 Way, Fuse Holder, ECU Power

2шт.

23

297910A1

ELEC CONNECTOR,Female, 5 Pin

5 Way, Relay 2, UCM Power

1шт.

23

87680656

CONTACT

5 Way, Relay 2, UCM Power

2шт.

23

87686739

CABLE TERMINAL,Female, Tin, 2.00 - 3.00mm

5 Way, Relay 2, UCM Power

2шт.

23

87705088

WEDGE

5 Way, Relay 2, UCM Power

1шт.

23

87686742

PLUG

5 Way, Relay 2, UCM Power

1шт.

24

84179509

RELAY

12V Miniature

1шт.

25

84137509

ELEC CONNECTOR

8 Way, Tank 1 Motors

1шт.

25

84193153

TERMINAL

8 Way, Tank 1 Motors

4шт.

25

87697672

TERMINAL

8 Way, Tank 1 Motors

4шт.

25

87699200

WIRE CONNECTOR

8 Way, Tank 1 Motors

1шт.

25

87354736

RETAINER

8 Way, Tank 1 Motors

1шт.

26

87696138

ELEC CONNECTOR

4 Way, Pressure 1

1шт.

26

87696954

TERMINAL,Female, Nickel, 0.35 - 1.50mm

4 Way, Pressure 1

4шт.

26

87696149

ELEC CONNECTOR

4 Way, Pressure 1

1шт.

27

87706919

ELEC CONNECTOR

5 Way, Bin 1 Sensors

1шт.

27

86500036

TERMINAL,Female, Nickel, 0.75 - 2mm

5 Way, Bin 1 Sensors

4шт.

27

84068583

PLUG,12 - 16 Ga, White

5 Way, Bin 1 Sensors

1шт.

28

87696551

CONTACT HOUSING,Female, 3 Pole

Front Ground Speed

1шт.

28

87696954

TERMINAL,Female, Nickel, 0.35 - 1.50mm

Front Ground Speed

3шт.

28

87705586

WEDGE

Front Ground Speed

1шт.

29

47742741

MODULE

Fuse Box

1шт.

30

47593681

TERMINAL,M6, Tin, 5.00 - 15.00mm

Relay In

1шт.

31

47593681

TERMINAL,M6, Tin, 5.00 - 15.00mm

Relay Out

1шт.

32

82012083

WIRE CONNECTOR,Female

2 Way, Relay Control

1шт.

32

82012085

TERMINAL CONNECTOR,Female, Tin, 0.75 - 1.5mm

2 Way, Relay Control

2шт.

33

47593681

TERMINAL,M6, Tin, 5.00 - 15.00mm

Battery Positive

1шт.

34

47593681

TERMINAL,M6, Tin, 5.00 - 15.00mm

Battery Negative

1шт.

35

87696551

CONTACT HOUSING,Female, 3 Pole

Lower Fan RPM

1шт.

35

87696954

TERMINAL,Female, Nickel, 0.35 - 1.50mm

Lower Fan RPM

3шт.

35

87705586

WEDGE

Lower Fan RPM

1шт.

36

87696551

CONTACT HOUSING,Female, 3 Pole

Upper Fan RPM

1шт.

36

87696954

TERMINAL,Female, Nickel, 0.35 - 1.50mm

Upper Fan RPM

3шт.

36

87705586

WEDGE

Upper Fan RPM

1шт.

37

84163450

ELEC CONNECTOR

5 Way, Alternator

1шт.

37

84163444

TERMINAL

5 Way, Alternator

1шт.

37

87712417

COVER

5 Way, Alternator

1шт.

37

87714249

SEAL PROTECTION

5 Way, Alternator

1шт.

38

47587614

WIRE CONNECTOR

9 Way, Strain Relief

1шт.

38

87695921

CONTACT,Female, Nickel, 0.50 - 1.00mm

9 Way, Strain Relief

4шт.

38

87697875

ELEC. TERMINAL PIN,Female, 2 - 3.6 mm2

9 Way, Strain Relief

2шт.

38

84819143

TERMINAL CONNECTOR,Female, 4.5 - 8 mm2

9 Way, Strain Relief

1шт.

38

47591988

WIRE CONNECTOR

9 Way, Strain Relief

1шт.

Выбрано товаров: 105