Запчасти Case IH 3200 (75.200.03) - COIL SHANK ASSEMBLY (75) - SOIL PREPARATION

Схема запчастей Case IH 3200 - (75.200.03) - COIL SHANK ASSEMBLY (75) - SOIL PREPARATION
5
11
2
3
21
12
2
14
4
20
13
8
10
6
23
13
7
9
15
FIT
1:1
100%

Артикул

Название

Примечание

Количество

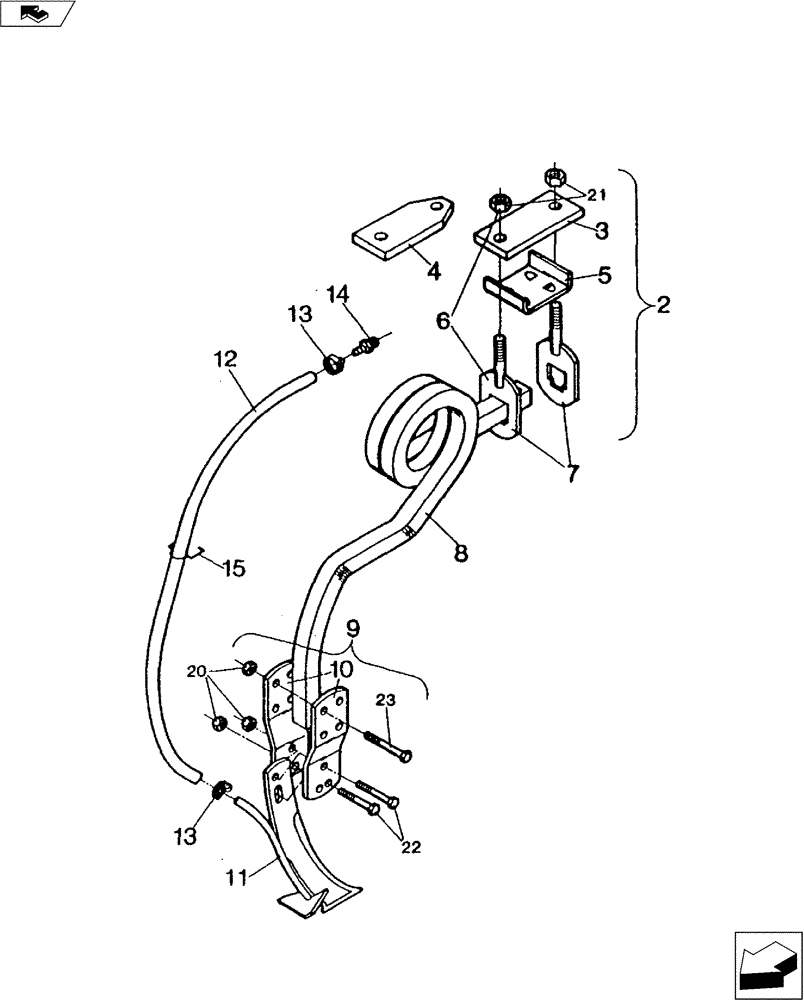
1

02060003

Std. Coil (Less Ref. 11 & 12)

1шт.

1

02060012

Center Coil (Less Ref. 11 & 12)

1шт.

2

02055000

Std. Assembly, Includes Ref. 3, 5, 6

1шт.

2

02028000

Center Assembly, Includes Ref. 4, 5, 6

1шт.

3

05021000

PLATE

Std. Upper Shank

1шт.

4

02236000

1шт.

5

05022000

PLATE

Lower Shank

1шт.

6

05019000

SEE PARTS MARKETING

Clamp Bolt Assembly, Includes Ref. 7 & 12

1шт.

7

05023000

DRAWBAR CLAMP

Shank Bolt

1шт.

8

33012500

1-1/4"

1шт.

9

02056000

BRACKET

Knife w/Hardware

1шт.

10

02077000

BRACKET

Knife

2шт.

11

33601002

KNIFE

Forward Swept - 3/8" (See Knife Figure)

1шт.

11

33601003

1/2" (See Knife Figure)

1шт.

12

25630615

3/8" I.D. AA x 15" Lg.

1шт.

12

25630815

1/2" I.D. AA x 15" Lg.

1шт.

13

22510600

3/8"

2шт.

13

22510810

1/2"

2шт.

14

15040121

ADAPTER

1/8" NPT x 3/8" Hose Barb

1шт.

14

15040122

1/8" NPT x 1/2"

1шт.

14

15040251

HYD CONNECTOR

1/4" NPT x 3/8" Hose Barb

1шт.

14

15040252

FITTING,1/2" Hose Barb x 1/4" - 18 NPT

1/4" NPT x 1/2" Hose Barb

1шт.

15

22510801

HOSE CLIP

1шт.

20

NSS

NOT SOLD SEPARAT

1/2" NC Hex. Nut

6шт.

21

NSS

NOT SOLD SEPARAT

3/4" NC Hex. Nut

2шт.

22

NSS

NOT SOLD SEPARAT

1/2" x 2" NC Capscrew

2шт.

23

NSS

NOT SOLD SEPARAT

1/2" x 2-1/2" NC Capscrew

4шт.

Выбрано товаров: 0