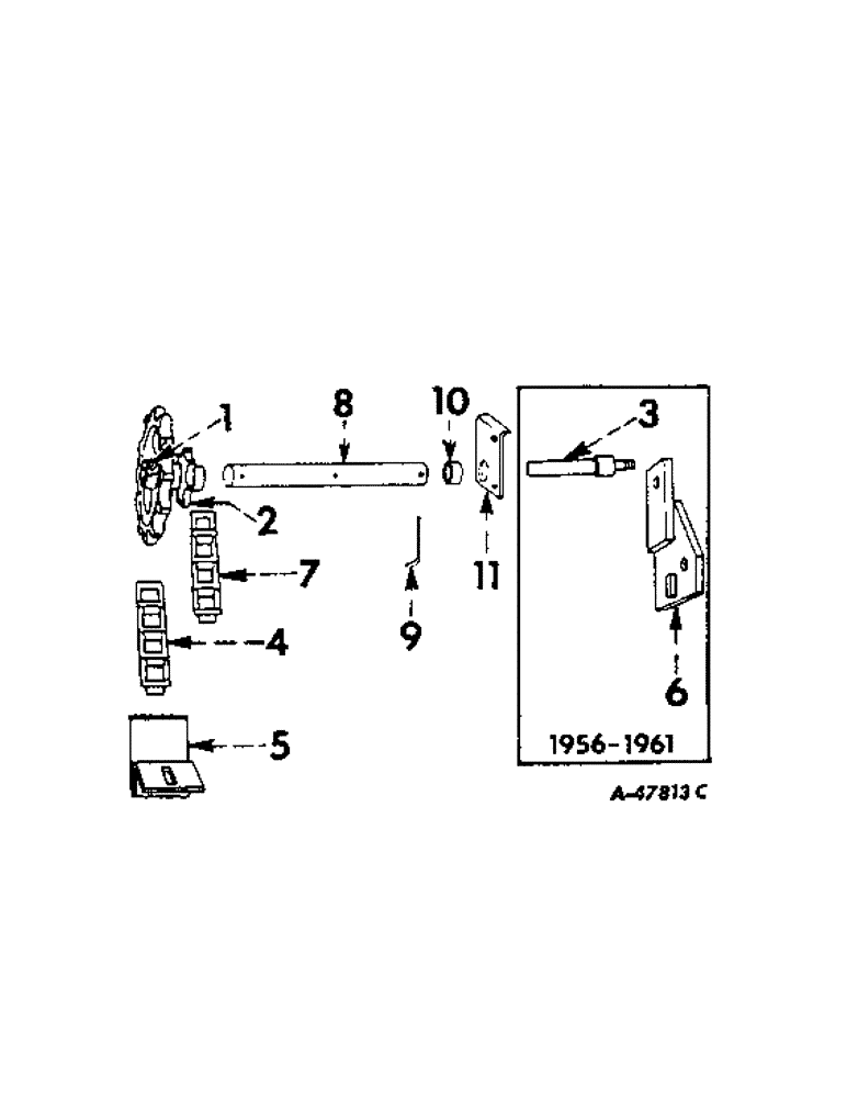
Запчасти Case IH DRY (A-121) - DRY FERTILIZERS, FERTILIZER DRIVE, FOR PLANTERS EQUIPPED W/REMOTE CONTROL CYLINDER

Схема запчастей Case IH DRY - (A-121) - DRY FERTILIZERS, FERTILIZER DRIVE, FOR PLANTERS EQUIPPED W/REMOTE CONTROL CYLINDER
5
8
11
6
4
9
10
1
3
2
7
FIT
1:1
100%

Артикул

Название

Примечание

Количество

1

443567

LUBE NIPPLE,1/4" x .56 lg, Drive

FITTING, 1/4 in. drive type straight lubrication

1шт.

2

625329R11

SPROCKET W/LUBRICATION FITTING, 7 and 12T

1шт.

2

626454R11

SPROCKET W/LUBRICATION FITTING, 12 and 12T

1шт.

3

625338R1

STUD, Serial Range: 1956-1961

1шт.

NUT, 1/2 in.

1шт.

PIN, 3/16 x 1-1/2 in. cotter

1шт.

WASHER, 1/2 in. lock

1шт.

4

CHAIN, drive, use 29 no. 55 steel links from 10 ft roll no. CS-55, for nos. 249, 250, 449 and 450 planters, Serial Range: 1956-1958

1шт.

4

CHAIN, drive, use 33 no. 55 steel links from 10 ft roll no. for 249, 250, 449 and 450 planter 1959 and since

1шт.

5

625155R1

SLIDE, chain

1шт.

BOLT W/NUT, 3/8 x 1 in. carriage

1шт.

6

626350R11

BRACKET, Serial Range: 1956-1961

1шт.

BOLT W/NUT, 1/2 x 1-1/2 in. mach

1шт.

WASHER, 1/2 in. lock

1шт.

7

CHAIN, drive, 29 links, no. 32 steel chain for use with 7 and 12T sprocket

1шт.

7

CHAIN, drive, 32 links, no. 32 steel chain for use with 12 and 12T sprocket

1шт.

8

464463R1

SHAFT, sprocket, 1961 and since

1шт.

PIN, 3/16 x 1-1/2 in. cotter

1шт.

WASHER, 25/32 x 1-1/4 in. x 16 ga

1шт.

9

461912R1

ROD

PIN, axle retaining, 1961 and since

1шт.

10

1228F

SPACER,3/4" Pipe x 1/2"

fertilizer drive sprocket, 1961 and since

1шт.

11

464462R1

BRACKET, shaft, 1961 and since

1шт.

BOLT W/NUT, 1/2 x 1-3/4 in. mach

1шт.

WASHER, 1/2 in. lock

1шт.

Выбрано товаров: 24