Запчасти Case IH FERTILIZER (35.850.02) - 1-1/4" QUICK COUPLER (35) - HYDRAULIC SYSTEMS

Схема запчастей Case IH FERTILIZER - (35.850.02) - 1-1/4" QUICK COUPLER (35) - HYDRAULIC SYSTEMS
12
12
11
8
10
13
9
13
2
5
11
4
14
13
6
FIT
1:1
100%

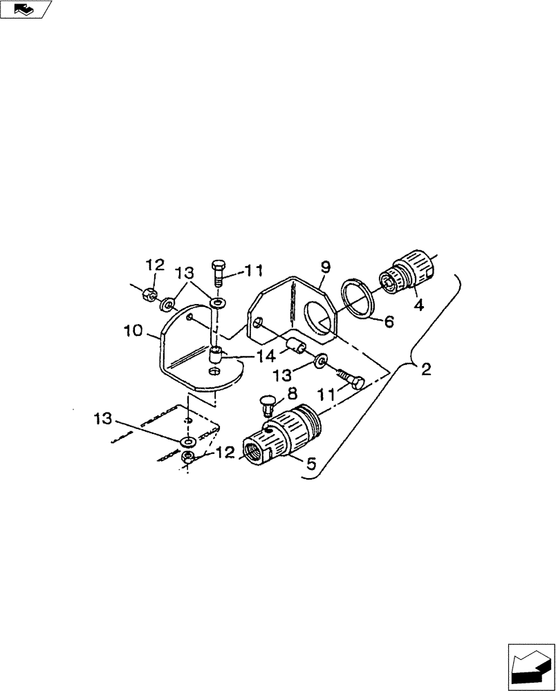
Артикул

Название

Примечание

Количество

2

02600040

FITTING

1 1/4" Quick Coupler Assembly

1шт.

3

34410031

1 1/4", Includes Ref. 4, 5 (Not Shown)

1шт.

4

34410032

QUICK MALE COUPLING

1 1/4" Male

1шт.

5

34410033

QUICK MALE COUPLING

1 1/4" Female

1шт.

6

14601250

1шт.

9

02628011

Includes Ref. 11-14

1шт.

10

02138000

1шт.

11

NSS

NOT SOLD SEPARAT

1/2" x 1 1/2" NC Hex. Bolt Grade 5

1шт.

12

NSS

NOT SOLD SEPARAT

1/2" NC Hex. Lock Nut

1шт.

13

NSS

NOT SOLD SEPARAT

1/2" Standard Washer

1шт.

14

02138110

SPACER

Pipe

1шт.

14

34410034

O-RING KIT

Kit (Two O-Rings)

1шт.

Выбрано товаров: 12