Запчасти Case IH FERTILIZER (75.200.02) - HEAVY DUTY SPRING AND RIGID SHANK (75) - SOIL PREPARATION

Схема запчастей Case IH FERTILIZER - (75.200.02) - HEAVY DUTY SPRING AND RIGID SHANK (75) - SOIL PREPARATION
23
29
22
1
4
8
31
28
22
4
6
26
27
20
25
9
23
5
28
3
25
23
7
21
28
22
30
10
24
29
FIT
1:1
100%

Артикул

Название

Примечание

Количество

P0466017

MOUNTING PLATE

Rigid 4" x 4" with Hardware (Not Shown)

1шт.

P0466018

KIT

Rigid Mount 4" x 6" with Hardware (Not Shown)

1шт.

04665080

SPRING

H.D. Mount 4" x 4" with Hardware (Not Shown)

1шт.

04665090

MOUNTING PARTS

H.D. Spring 4" x 6" with Hardware (Not Shown)

1шт.

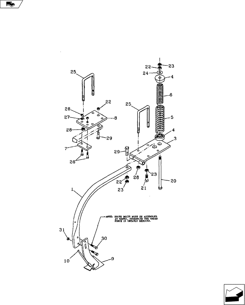
1

33020017

SHANK

Side Mount

1шт.

2

04665400

MOUNTING PARTS

H.D Spring, Less Ref. 25 & 28 (Not Shown)

1шт.

3

04665410

MOUNTING PARTS

H.D. Spring

1шт.

4

20090120

SPRING BOX

Double Casting

1шт.

5

24162504

COMPRESSION SPRING

4-1/16" O.D.

1шт.

6

24143812

COMPRESSION SPRING

2-1/2" O.D.

1шт.

7

09236000

CLAMP

Plate

1шт.

8

04620510

PLATE

1шт.

9

NSS

NOT SOLD SEPARAT

Forward Swept Knife - See Knife Figure

1шт.

10

22510600

1шт.

11

22510803

CLIP

Hose (Not Shown)

1шт.

20

16901257

3/4" x 14" NC Hex. Bolt

1шт.

21

16812084

SET SCREW,3/4" - 10 x 2"

3/4" x 2" Sq. Hd. Set

1шт.

22

NSS

NOT SOLD SEPARAT

3/4" NC Hex. Nut

1шт.

23

NSS

NOT SOLD SEPARAT

3/4" NC Hex. Jam Nut

1шт.

24

NSS

NOT SOLD SEPARAT

3/4" Std. Washer

1шт.

25

16310011

U-BOLT

BOLT "U" 5/8" x 4" x 5-1/2"

1шт.

25

16310050

U-BOLT

5/8" x 4" x 8"

1шт.

26

NSS

NOT SOLD SEPARAT

5/8" x 3" NC Hex. Bolt Gd. 2

1шт.

27

NSS

NOT SOLD SEPARAT

5/8" Lock Washer

1шт.

28

NSS

NOT SOLD SEPARAT

5/8" NC Hex. Nut

1шт.

29

NSS

NOT SOLD SEPARAT

3/4" x 3" NC Capscrew Gd. 5

1шт.

30

NSS

NOT SOLD SEPARAT

1/2" x 2" NC Capscrew Gd. 5

1шт.

31

NSS

NOT SOLD SEPARAT

1/2" NC Hex. Nut

1шт.

Выбрано товаров: 28