Запчасти Case IH FERTILIZER (75.200.03) - 20" & 24" COLTER ASSEMBLY (75) - SOIL PREPARATION

Схема запчастей Case IH FERTILIZER - (75.200.03) - 20" & 24" COLTER ASSEMBLY (75) - SOIL PREPARATION
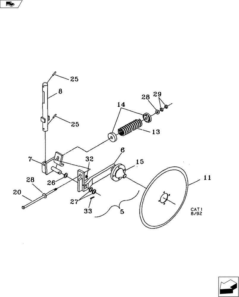
7
32
27
26
13
25
11
20
25
6
5
33
28
29
15
8
28
14
FIT
1:1
100%

Артикул

Название

Примечание

Количество

04663600

BAR ASSY.

20" Colter Assembly Less Mounting (1 3/4" Shaft) (Not Shown)

1шт.

04663700

COULTER

24" Colter Assembly Less Mounting (1 3/4" Shaft) (Not Shown)

1шт.

5

04663000

BAR ASSY.

20" Colter Arm Assembly (1 3/4")

1шт.

5

04663050

COULTER

24" Colter Arm Assembly

1шт.

6

04663100

BAR ASSY.

20" Colter Arm With Hub (1 3/4")

1шт.

6

04663300

SUPPORT

24" Colter Arm With Hub

1шт.

6

02365015

(1 1/2")

1шт.

6

04642030

POWER ARM

24" Colter with Hub (Old)

1шт.

7

04663200

BAR ASSY.

20" & 24" Colter Pivot (1 3/4")

1шт.

7

02365019

BAR ASSY.

20" Colter Pivot (1 1/2")

1шт.

7

04642020

COULTER

24" Colter Pivot (Old)

1шт.

8

04663150

BAR ASSY.

20" Colter Shaft (1 3/4" x 21 3/4")

1шт.

8

02365024

BAR ASSY.

20" Colter Shaft (1 1/2")

1шт.

8

04663140

SHAFT

24" Colter (1 3/4" x 19 15/16")

1шт.

8

04649000

COULTER

24" Shaft (Old)

1шт.

11

33502042

PLOW DISC

20" Colter Blade

1шт.

11

33502442

PLOW DISC

24" Colter Blade

1шт.

13

24143880

COMPRESSION SPRING

20"

1шт.

13

24156205

COIL SPRING

Compression 24"

1шт.

14

20090050

HOLDER

Spring Casting

1шт.

15

28063321

HUB ASSY.

633 Spindle 20" & 24" Colter, See Figure 44.100.01

1шт.

20

16010440

5/8 X 11 NC Hex. Bolt (20")

1шт.

20

16010540

BOLT

5/8 X 13 1/2 Hex. (24")

1шт.

25

14741412

ROLL PIN

7/16 X 2 1/2

1шт.

25

S0700160

3/8" x 2 1/4" 20" (1 1/2")

1шт.

25

49529000

PIPE

24" Colter Bottom Collar (Old)

1шт.

26

17620030

WASHER,32.15mm ID x 47.63mm OD x 10mm Thk

1 1/4 Machined 10 Gauge

1шт.

27

17620020

BUSHING,32.15mm ID x 47.63mm OD x 2.08mm L

1 1/4 Machined 14 Gauge

1шт.

28

17411012

WASHER

5/8 X 1/4" Thick

1шт.

29

NSS

NOT SOLD SEPARAT

5/8 NC Hex. Nut

1шт.

32

NSS

NOT SOLD SEPARAT

1/8 NPT Grease Zerk

1шт.

33

NSS

NOT SOLD SEPARAT

1/4 X 1 1/2" Cotter Pin

1шт.

Выбрано товаров: 32