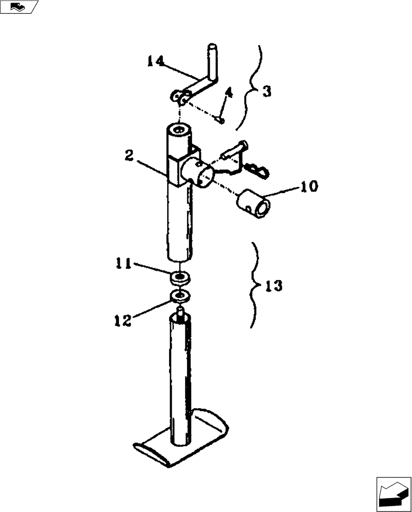
Запчасти Case IH FERTILIZER (39.110.03) - JACK ASSEMBLY FOR MODELS 3300, 4250, 5250, 5300 (00) - GENERAL & PICTORIAL INDEX

Схема запчастей Case IH FERTILIZER - (39.110.03) - JACK ASSEMBLY FOR MODELS 3300, 4250, 5250, 5300 (00) - GENERAL & PICTORIAL INDEX
14
2
3
11
12
10
10
4
FIT
1:1
100%

Артикул

Название

Примечание

Количество

1

84533450

JACK

5000 lb

1шт.

3

32230100

PACKAGE

Handle Replacement, Includes Ref. 4-5, 14

1шт.

10

09311040

TUBE,1.3" ID, 2" OD, 2.62" Length

Mounting Bracket (Not With Jack Assembly)

1шт.

13

32230300

REPAIR KIT

lnner Ram, Includes Ref. 11-12

1шт.

Выбрано товаров: 4