Запчасти Case IH K-202 (P-05) - HOPPER

Схема запчастей Case IH K-202 - (P-05) - HOPPER
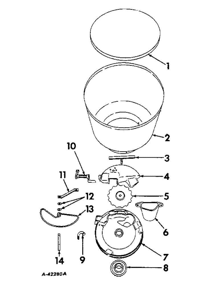
1
10
14
2
12
13
6
3
5
4
11
9
8
7
FIT
1:1
100%

Артикул

Название

Примечание

Количество

462253R91

HOPPER, galvanized

1шт.

626461R91

HOPPER

reinforced fibre glass, consists of all parts listed below as noted

1шт.

1

625016R2

COVER

LID, fertilizer hopper

1шт.

2

625286R91

HOPPER, galvanized, 115 lbs. capacity

1шт.

2

625017R2

HOPPER

reinforced fibre glass, 115 lbs. capacity

1шт.

120584

SCREW, 1/4 x 3/4 in. cd-pltd slt-rd-hd mach

3шт.

445141

NUT

1/4 in. cd-pltd spring

3шт.

WASHER, 9/32 x 1 in. x 18 ga cd-pltd

3шт.

3

624607R91

ACTUATOR

AGITATOR

1шт.

4

625013R1

COVER ASSY

PLATE, rotary gate cover

1шт.

BOLT, 5/16 x 3 in. mach

1шт.

129-419

WING NUT,5/16"-18

NUT, 5/16 in. wing

1шт.

WASHER, 21/64 x 3/4 in. x 16 ga

1шт.

5

622489R11

RIM

WHEEL W/PIN, feed, light, 14T

1шт.

5

NC115X

WHEEL

W/PIN, feed, heavy, 7T

1шт.

5

NC316X

WHEEL

W/PIN, feed, medium, 7T, not furnished as part of fertilizer hopper

1шт.

N62414

PIN,3.96mm OD x 28mm L

5/32 x 1-1/8 in. hdls

1шт.

6

624600R1

PIPE CLAMP

SPOUT

1шт.

NUT, no. 10

2шт.

110502

SCREW,Slotted Rd Hd, #10-24 x 3/4"

no. 10 x 3/4 in. slt-rd-hd mach

2шт.

WASHER, no. 10 lock

2шт.

7

625012R11

BOTTOM

W/FITTING, fertilizer hopper

1шт.

PIN, 1/8 x 3/4 in. self-opening cotter

1шт.

Q817

PIN

5/16 x 6 in. dld-std-hd

1шт.

8

3567A

GEAR

bevel, 18T

1шт.

9

623088R1

HOOK

BOLT, hopper hold-down, 3/8 in. x 2-7/8 in. cd-pltd, dld-std-hd pin

1шт.

623084R1

WING NUT

NUT, 3/8 in. cd-pltd wing

1шт.

WASHER, 13/32 x 7/8 in. x 11 ga

1шт.

10

625298R1

CHOKE

GATE, rotary

1шт.

BOLT, 5/16 x 1 in. sq-hd mach

1шт.

129-419

WING NUT,5/16"-18

NUT, 5/16 in. wing

1шт.

WASHER, 5/16 in. lock

1шт.

11

626492R1

SUPPORT

RETAINER, agitator shaft, special

1шт.

PIN, 1/8 x 3/4 in. cotter

2шт.

12

WASHER, 17/32 x 1 in. x 11 ga

2шт.

13

626493R1

SPRING

AGITATOR, special

1шт.

14

626491R1

SHAFT

agitator, special

1шт.

125617

LUBE NIPPLE,3/16" x .61 lg, Drive

FITTING, 3/16 in. straight drive type lubrication, for 625012R11 bottom

1шт.

Выбрано товаров: 38