Запчасти Case IH 437 (10-009) - PLUMBING, WET KIT, 4 MID Wet Kit

Схема запчастей Case IH 437 - (10-009) - PLUMBING, WET KIT, 4 MID Wet Kit
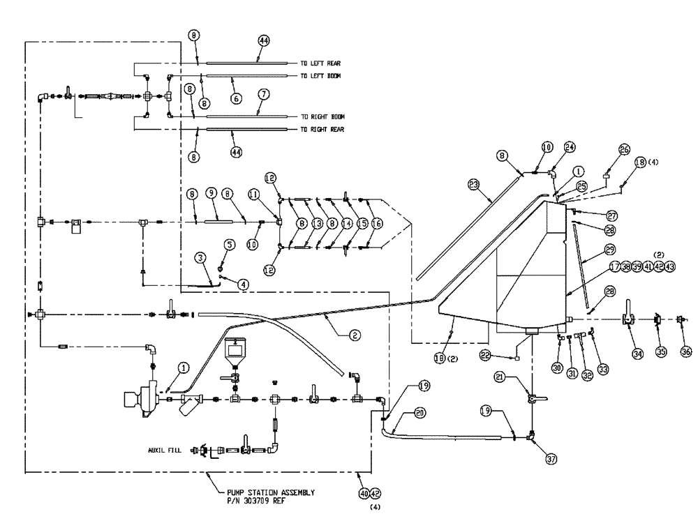
17
4
38
8
44
19
8
18
16
33
1
6
27
31
36
26
25
8
7
10
1
22
43
15
41
34
8
11
19
12
8
28
24
9
23
42
39
44
8
3
29
32
28
2
10
35
5
30
42
40
8
37
13
20
12
14
21
18
8
8
FIT
1:1
100%

Артикул

Название

Примечание

Количество

1

BN76094

HOSE CLAMP

SS #M4

2шт.

2

BN67333

HOSE

1/4" EPDM x 204"

1шт.

3

BN29999

HOSE

3/8" id EPDM x 260"

1шт.

4

BN53733

ADAPTER

1 /4" NPT x 9/16" JIC

1шт.

5

BN98104

ELECTRICAL GAUGE

160 PSI Panel Mount

1шт.

6

BN67324

1" EPDM X 215.00"

1шт.

7

BN67323

Hose 1" EPDM X 270.00"

1шт.

8

BN75990

HOSE CLAMP

#16, Stainless Steel

11шт.

9

BN53845

EPDM 1" ID x 108"

1шт.

10

BN53476

FITTING,1" Male NPT x 1" Hose Barb, Poly

1" NPT x 1" Hose Barb, Poly

2шт.

11

BN73629

TEE

1" Poly Pipe

1шт.

12

BN53475

ELBOW,90 Degree Elbow, 1" Male NPT x 1" Hose Barb, Poly

1" NPT x 1" Hose Barb, Poly

2шт.

13

BN53871

1" EPDM x 18.0"

2шт.

14

BN73569

FITTING

Hose Barb 3/4 NPT X 1 Hose

2шт.

15

BN73564

VALVE

3/4" Ball Poly 2 Way

2шт.

16

BN53671

AGITATOR

2шт.

17

BN65758

Wet Kit, Flex-Air

1шт.

18

BN73644

Plug - 1" NPT Nylon

6шт.

19

BN76056

HOSE CLAMP

#36

2шт.

20

BN67334

1.5" X 132" EPDM

1шт.

21

BN73711

VALVE,1-1/2" NPT x 1-1/2" NPT

1 1/2" Ball

1шт.

22

BN73606

CAP

1" NPT, Poly Pipe

1шт.

23

BN66854

HOSE

1" EPDM x 135.00"

1шт.

24

BN73742

ELBOW

90º x 1 Poly

1шт.

25

BN73412

ELBOW,90 Degree,1/4" MPT x 1/4" HB

1/4" NPT x 1/4" Hose Barb, Poly

1шт.

26

BN22353

PLUG

3" NPT PVC

1шт.

27

BN73562

FITTING,3/4" Male Thread x 3/4" 90 Degree Hose Barb

3/4" NPT x 3/4" Hose Barb, 90°

1шт.

28

BN75978

HOSE CLAMP

SS #12 ADJ HS .56 - 1.25

2шт.

29

BN67335

.75" X 55" EVA Plastic

1шт.

30

BN73243

1" SS ST, Elbow 90

1шт.

31

BN73220

Nipple - 1" NPT Close SS

1шт.

32

BN53473

VALVE,1" NPT

SS-Ball (2-Way) 1" NP

1шт.

33

BN73684

ELBOW

FT, HB, 90° 1" MPT x 3/4" Barb

1шт.

34

BN73761

VALVE,2" NPT x 2" NPT

Ball, 2" Full Port

1шт.

35

BN73775

COUPLING,2" Quick Disconnect x 2" Hose Barb, Poly

2" Cam Lock Poly

1шт.

36

BN22900

PLUG

2" Cam Lock

1шт.

37

BN73723

ELBOW,90 Degree Elbow, 1-1/2" Male NPT x 1-1/2" Hose Barb, Poly

1-1/2" NPT x 1-1/2" Hose Barb, Poly

1шт.

38

BN50155

WASHER,17.48mm ID x 44.45mm OD x 3.05mm Thk

5/8", G5

4шт.

39

BN50315

BOLT

5/8-11 X 2, HH, G5

2шт.

40

BN50330

BOLT

3/4-10 X 1.5, HH, 5, Black

4шт.

41

BN50332

3/4-10 X 2.5, HH, G5

2шт.

42

BN50969

NUT

3/4-10, NLN, G5

6шт.

43

BN55364

NUT

5/8-11, NLN, G5

2шт.

44

BN53758

HOSE,222.00"

2шт.

Выбрано товаров: 44