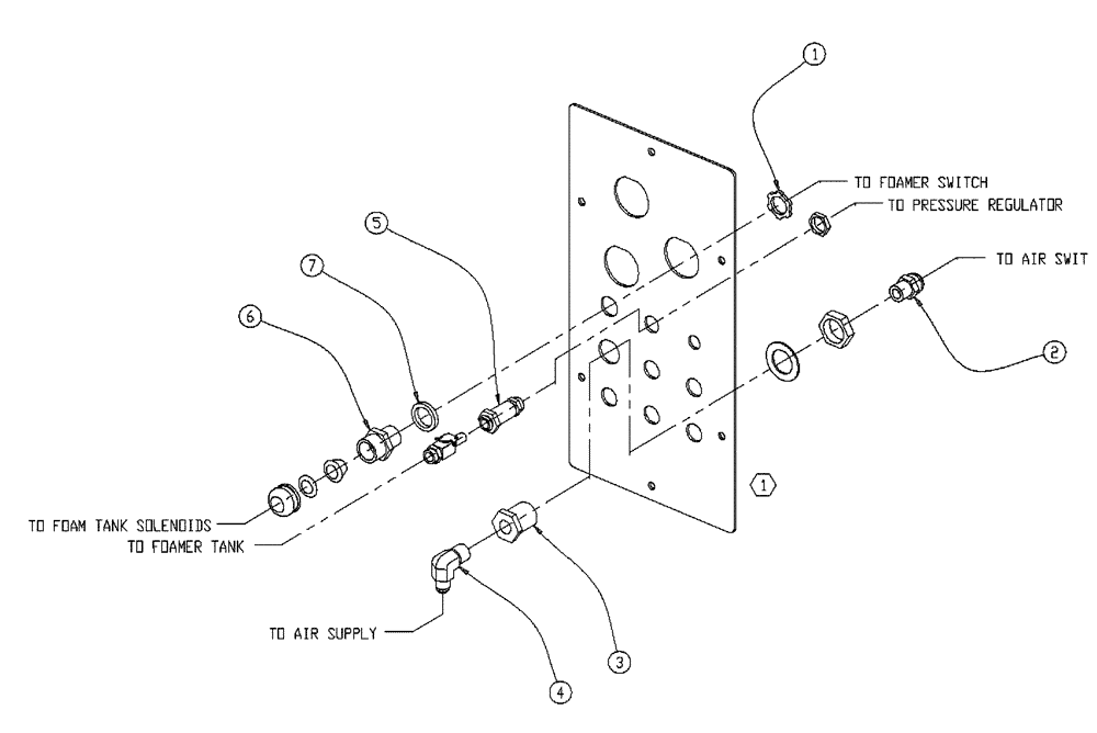
Запчасти Case IH 437 (09-001) - REAR CAB PANEL, FOAM, FLEX (16) - FOAM MARKER

Схема запчастей Case IH 437 - (09-001) - REAR CAB PANEL, FOAM, FLEX (16) - FOAM MARKER
7
1
4
3
1
2
5
6
FIT
1:1
100%

Артикул

Название

Примечание

Количество

1

BN2291438

LOCK NUT

Lock BL-50

1шт.

2

BN2399412

ADAPTER

Tube MC38038

1шт.

3

BN2293315

COUPLING

207ACBH-6

1шт.

4

BN2290528

FITTING

2103-6-6

1шт.

5

BN2295092

FITTING

Poly-Tite

1шт.

6

BN2296385

MULTIPOLE CONNECTOR

CGB194

1шт.

7

BN2294875

SEAL

Conduit 1/2" 5262

1шт.

Выбрано товаров: 7