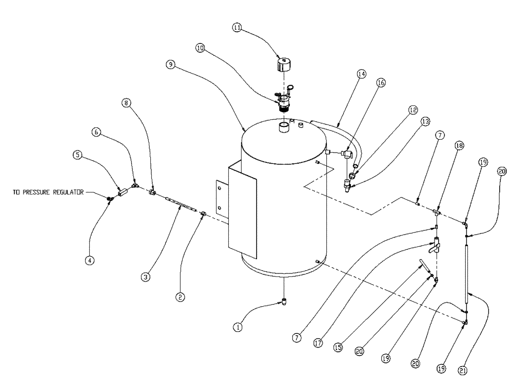
Запчасти Case IH 437 (09-004) - FOAM TANK GROUP, TITAN (16) - FOAM MARKER

Схема запчастей Case IH 437 - (09-004) - FOAM TANK GROUP, TITAN (16) - FOAM MARKER
5
3
16
19
19
20
20
6
20
14
1
9
17
13
7
19
2
12
4
18
21
11
7
8
15
10
FIT
1:1
100%

Артикул

Название

Примечание

Количество

1

BN305117

PLUG

3/4 pipe, SS

1шт.

2

BN2396381

CAP

Thread 1/4" PVC Cap FPT

1шт.

3

BN8094016

TUBE

Foam Marker

1шт.

4

BN2399411

ADAPTER

Elbow, 1/4" MPT x 3/8" OD Tube, Push Lock Fitting

1шт.

5

BN2292256

CHECK VALVE

C400S Parker

1шт.

6

BN305118

FITTING

90, 1/4-1/4, SS

1шт.

7

BN1420320

LUBE NIPPLE

LUBRICATOR S80 1/4 All Thread

2шт.

8

BN305120

BUSHING

Red, Rework 305119

1шт.

9

BN8194120

TANK

Foam 65 gallon

1шт.

10

BN2396382

COUPLING,2" Male Adapter-2" Male Thread

F 2" Poly

1шт.

11

BN2393383

CAP

Coupler 2" Dust Poly

1шт.

12

BN75990

HOSE CLAMP

#16, Stainless Steel

1шт.

13

BN73562

FITTING,3/4" Male Thread x 3/4" 90 Degree Hose Barb

3/4" NPT x 3/4" Hose Barb, 90°

1шт.

14

BN304932

HOSE,0.75" ID x 43.00"

1шт.

15

BN304931

HOSE,0.38" ID x 48.00"

1шт.

16

BN2392285

VALVE PRESSURE RELIE

Conbraco

1шт.

17

BN2298246

HYDRAULIC VALVE

Ball 1/4" SS

1шт.

18

BN2011315

TEE

Pipe 1/4" SS

1шт.

19

BN325317

FITTING

Hose Barb, 1/4" MPT x 3/8" 90º

3шт.

20

BN76094

HOSE CLAMP

SS #M4

3шт.

21

BN304930

HOSE,0.38" ID x 27.75"

1шт.

Выбрано товаров: 21