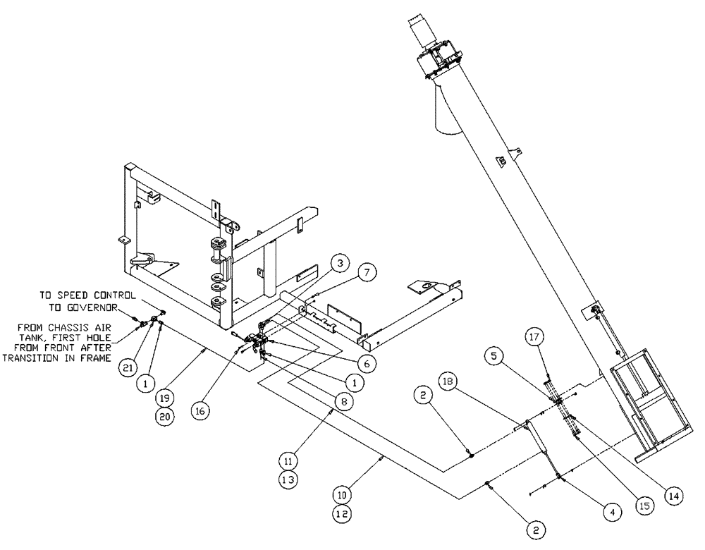
Запчасти Case IH 437 (01-003) - PNEUMATIC GROUP, 8 INCH AUGER Basic Unit

Схема запчастей Case IH 437 - (01-003) - PNEUMATIC GROUP, 8 INCH AUGER Basic Unit
6
21
14
7
4
10
5
1
13
17
6
16
19
12
8
2
11
2
1
15
18
20
FIT
1:1
100%

Артикул

Название

Примечание

Количество

1

BN2399401

ADAPTER

Male, 1/4" Tube

3шт.

2

BN2399402

ADAPTER

1/8" MPT x 1/4" OD Tube, Push Lock Fitting

2шт.

3

BN2399404

90 ELBOW

1/4" MPT x 1/4" OD Tube, Push Lock Fitting

2шт.

4

BN300254

KIT

Clevis, .31 Rod

1шт.

5

BN300255

REPAIR KIT

Pivot Bracket, 1.06 Cylinder

1шт.

6

BN304833

SOLENOID VALVE

Air, Double

1шт.

See Fig. 01-016

1шт.

6a

84269276

SEAL

Pressure, Pilot Valve

1шт.

7

BN303136

NUT

10-32, NLN, G5

2шт.

8

BN303143

1/4 X 12", Black

1шт.

10

BN303250

AIR HOSE,50.00"

1/4", Black

1шт.

11

BN303251

1/4" X 40", Black

1шт.

12

BN303252

LOOM

Plastic, 1/4" X 50"

1шт.

13

BN303253

Plastic, 1/4" X 40"

1шт.

14

BN50138

WASHER,1/4", SS

4шт.

15

BN50212

BOLT,1/4"-20 x 3/4", Stainless Steel

4шт.

16

BN50926

10-32 X 1.25, PHR, G5

2шт.

17

BN55359

LOCK NUT,1/4"-20, SS

4шт.

18

NSS

NOT SOLD SEPARAT

Cylinder, 1.06 X 6, Air

1шт.

19

BN303336

AIR HOSE,88.00"

1/4", Black

1шт.

20

BN303337

LOOM

Plastic, 1/4" X 88"

1шт.

21

BN55386

TEE

1/4 NPTF Street Steel

1шт.

Выбрано товаров: 22