Качественные детали и логистика
Оригинальные и аналоговые запчасти с доставкой по России, Казахстану и Беларуси
©2022 PartSell ООО "Система" ИНН 2463123282 ОГРН 1212400004838
Центральный офис: г. Красноярск, Академика Киренского, д.87, пом.4
Телефон: 8 (800) 777-65-74 Email: zakaz@partsell.ru
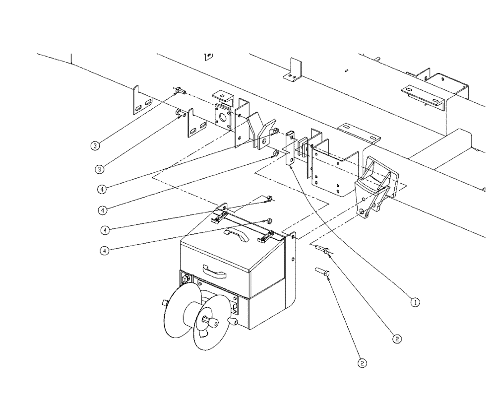
(21-010) - PRESSURE WASHER MOUNT
№
Артикул
Название
Примечание
Количество
1
BN311705
SPACER
P Washer Mount
1шт.
2
BN50333
BOLT
3/4-10 X 3, HH, G5
2шт.
3
88725
BOLT,Hex, 3/4" - 10 x 1 3/4", Gr 5, Full Thd
4
BN50969
NUT
3/4-10, NLN, G5
4шт.
Выбрано товаров: 0