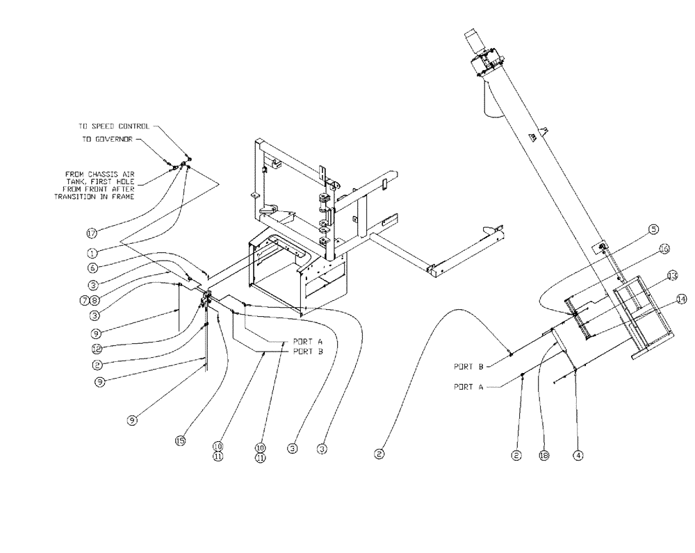
Запчасти Case IH 438 (01-006) - 8" AUGER PNEUMATIC GROUP Basic Unit

Схема запчастей Case IH 438 - (01-006) - 8" AUGER PNEUMATIC GROUP Basic Unit
9
11
2
3
9
7
10
2
1
16
14
8
4
9
12
5
3
15
18
10
2
3
3
13
17
6
11
FIT
1:1
100%

Артикул

Название

Примечание

Количество

1

BN2399401

ADAPTER

Male, 1/4" Tube

1шт.

2

BN2399402

ADAPTER

1/8" MPT x 1/4" OD Tube, Push Lock Fitting

4шт.

3

BN2399404

90 ELBOW

1/4" MPT x 1/4" OD Tube, Push Lock Fitting

4шт.

4

BN300254

KIT

Clevis, .31 Rod

1шт.

5

BN300255

REPAIR KIT

Pivot Bracket, 1.06 Cylinder

1шт.

6

BN303136

NUT

10-32, NLN, G5

2шт.

7

BN303250

AIR HOSE,50.00"

1/4", Black

1шт.

8

BN303252

LOOM

Plastic - 1/4" X 50"

1шт.

9

BN303257

AIR HOSE,33.00"

1/4", Black

3шт.

10

BN303336

AIR HOSE,88.00"

1/4", Black

2шт.

11

BN303337

LOOM

Plastic - 1/4" X 88"

2шт.

12

BN304833

SOLENOID VALVE

Air, Double

1шт.

13

BN50138

WASHER,1/4", SS

4шт.

12a

84269276

SEAL

Pressure, Pilot Valve

1шт.

14

BN50212

BOLT,1/4"-20 x 3/4", Stainless Steel

4шт.

15

BN50926

10-32 X 1.25, PHR, G5

2шт.

16

BN55359

LOCK NUT,1/4"-20, SS

4шт.

17

BN55386

TEE

1/4 NPTF Street Steel

1шт.

18

BN68383

CYLINDER,Double Acting, 6.35mm Rod, 127mm Stroke

1.06 X 6, Air

1шт.

Выбрано товаров: 19