Запчасти Case IH 438 (01-011) - CONVEYORS - HYDRAULIC GROUP Basic Unit

Схема запчастей Case IH 438 - (01-011) - CONVEYORS - HYDRAULIC GROUP Basic Unit
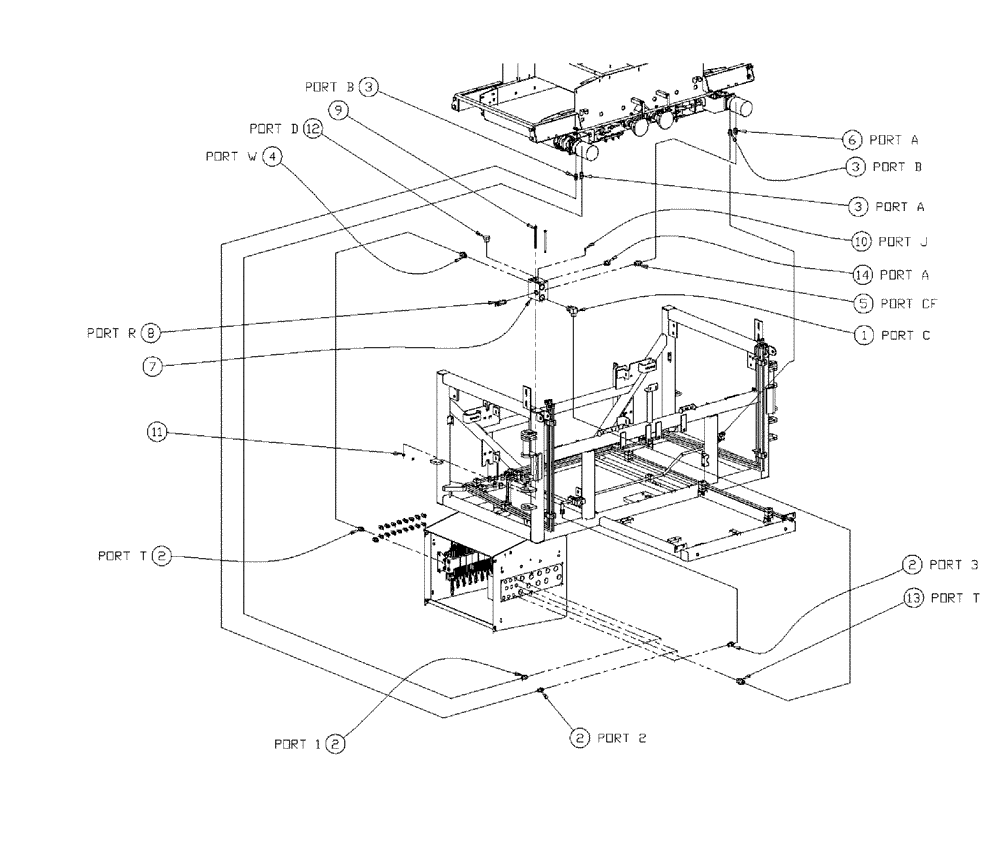
9
8
11
6
10
12
2
3
2
13
1
2
3
7
14
2
4
5
3
FIT
1:1
100%

Артикул

Название

Примечание

Количество

1

BN302574

ELBOW

16MOR-16MB X 90

1шт.

1a

167268

O-RING,0.116" Thk x 1.171" ID, -916, Cl 6, 90 Duro

1-5/16", ORB

1шт.

O-ring boss end

1шт.

1b

238-6021

O-RING,15/16 X 1 - 1/16, Cl 6

1шт.

Face seal end

1шт.

2

BN302650

FITTING

8MOR-8MB

4шт.

3

BN302651

FITTING

8MOR-10MB

3шт.

4

BN302652

FITTING

8MOR-12MB

1шт.

5

BN302655

FITTING

12Mor-12Mb

1шт.

6

BN305057

FITTING

12MOR-10MB

1шт.

7

BN306910

MANIFOLD

Waterman Return

1шт.

8

BN307940

VALVE PRESSURE RELIE

Dast

1шт.

9

BN309845

SCREW,Hex, 5/16" - 18 x 5", SST

2шт.

10

BN446048

PLUG

hex, O-RING, -6, 9/16-18

1шт.

11

BN55361

NUT,5/16"-18, Nylon, Stainless

2шт.

12

BN55393

PLUG

#16 JIC

1шт.

13

BN57223

FITTING

STR 1-5/16 12 O-Ring x 1-7/16 12 Male Flat Face

1шт.

14

9841223

PLUG,1-1/16" - 12 ORB

1шт.

Выбрано товаров: 18