Качественные детали и логистика
Оригинальные и аналоговые запчасти с доставкой по России, Казахстану и Беларуси
©2022 PartSell ООО "Система" ИНН 2463123282 ОГРН 1212400004838
Центральный офис: г. Красноярск, Академика Киренского, д.87, пом.4
Телефон: 8 (800) 777-65-74 Email: zakaz@partsell.ru
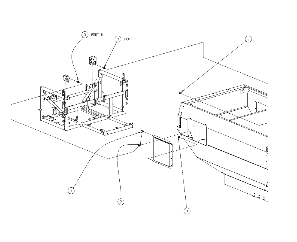
(01-013) - BOX COOLER HYDRAULIC GROUP
№
Артикул
Название
Примечание
Количество
1
BN302574
ELBOW
16MOR-16MB x 90
2шт.
1a
167268
O-RING,0.116" Thk x 1.171" ID, -916, Cl 6, 90 Duro
1-5/16", ORB
1шт.
O-ring boss end
1b
238-6021
O-RING,15/16 X 1 - 1/16, Cl 6
Face seal end
2
BN307941
FITTING
16MOR BH 16MOR 45
3
BN57223
STR 1-5/16 12 O-Ring x 1-7/16 12 Male Flat Face
4шт.
Выбрано товаров: 0