Качественные детали и логистика
Оригинальные и аналоговые запчасти с доставкой по России, Казахстану и Беларуси
©2022 PartSell ООО "Система" ИНН 2463123282 ОГРН 1212400004838
Центральный офис: г. Красноярск, Академика Киренского, д.87, пом.4
Телефон: 8 (800) 777-65-74 Email: zakaz@partsell.ru
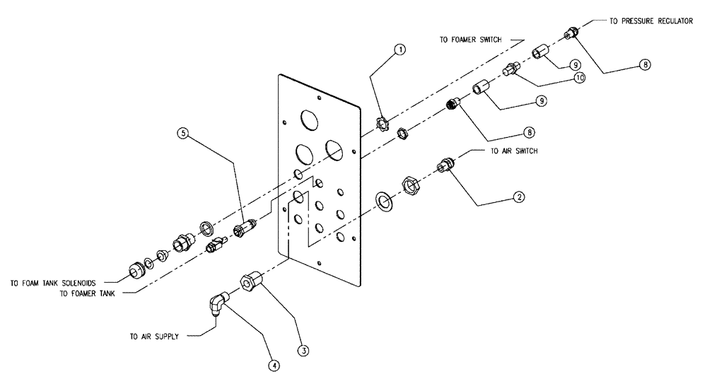
(10-005) - REAR CAB PANEL, FOAM MARKER, 60 & 70’
№
Артикул
Название
Примечание
Количество
1
BN2291438
LOCK NUT
Lock BL - 50
1шт.
2
BN2399412
ADAPTER
Tube MC38038
3
BN2293315
COUPLING
207ACBH - 6
4
BN2290528
FITTING
2103-6-6
5
BN2295092
Poly - Tite
8
BN2399403
1/4" MPT x 3/8" OD Tube, Push Lock Fitting
2шт.
9
BN73015
1/4" NPT SS Full
10
BN307985
VALVE
Check, 1 - 2.5 CRK, 1/4 P
Выбрано товаров: 0