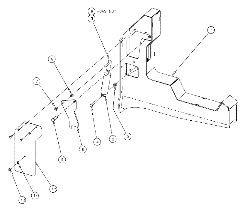
Запчасти Case IH 810 (04-030) - CRADLE ASSEMBLY RH, "SERIAL #6700 AND LATER" Boom Group

Схема запчастей Case IH 810 - (04-030) - CRADLE ASSEMBLY RH, "SERIAL #6700 AND LATER" Boom Group
5
6
6
14
9
2
12
13
1
7
3
8
4
FIT
1:1
100%

Артикул

Название

Примечание

Количество

1

87265728

CRADLE

RH

1шт.

2

343977A1

HYDRAULIC CYLINDER,11.11mm Rod, 50.8mm Stroke

1.50" BORE X 2, AIR

1шт.

3

343988A1

BALL JOINT

7/16-20 /GROMMET

1шт.

4

BN50948

BOLT,Hex, 3/8" - 16 x 2 1/2", Stainless

3/8-16 X 2-1/2", Stainless Steel

1шт.

5

BN50759

LOCK NUT,3/8"-16, Nylon, Stainless

1шт.

6

425-157

JAM NUT,Jam, 7/16"-20, G5

3шт.

8

87269878

PLATE

LOCK

1шт.

9

439-1824

HEADED PIN,1/2" x 1 1/2", G2

1шт.

12

87269888

COVER

CRADLE

1шт.

13

BN50697

BOLT,Hex, 1/4" - 20 x 1/2", SST

3шт.

14

BN50138

WASHER,1/4", SS

3шт.

Выбрано товаров: 11